Operation CHARM: Car repair manuals for everyone.
Manuals through 2025 now available!

Our trusted friends have launched a new website named LEMON, which has newer manuals. It also contains all the CHARM manuals.

LEMON is the spiritual successor to CHARM, I recommend you try it!

Link: lemon-manuals.la or lemon-manuals.org.ua

(Some people have issue connecting. LEMON is investigating. For now, use Firefox or change your DNS server)

Or, hide this message: temporarily or permanently

General Information



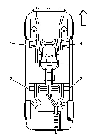
LIFTING AND JACKING THE VEHICLE




JACKING POINTS FOR LIFTING EQUIPMENT




LIFTING AND JACKING POINTS


CAUTION:
- To help avoid personal injury, always use jack stands when you are working on or under any vehicle that is supported only by a jack.
- To avoid any vehicle damage, serious personal injury or death when major components are removed from the vehicle and the vehicle is supported by a hoist, support the vehicle with jack stands at the opposite end from which the components are being removed.


NOTE:
- When you are jacking or lifting a vehicle at the frame side rails or other prescribed lift points, be certain that the lift pads do not contact the catalytic converter, the brake pipes or the fuel lines. If such contact occurs, vehicle damage or unsatisfactory vehicle performance may result.
- Before beginning any lifting procedure, be sure the vehicle is on a clean, hard, level surface. Be sure all the lifting equipment meets weight standards and is in good working order. Be sure all the vehicle loads are equally distributed and secure. If the vehicle is only being supported at the frame side rails, make sure the lifting equipment does not put too much stress on or weaken the frame side rails (1).

If using any other hoisting methods than those called out, take special care not to damage the fuel tanks, the exhaust system or the underbody.