Operation CHARM: Car repair manuals for everyone.
Manuals through 2025 now available!

Our trusted friends have launched a new website named LEMON, which has newer manuals. It also contains all the CHARM manuals.

LEMON is the spiritual successor to CHARM, I recommend you try it!

Link: lemon-manuals.la or lemon-manuals.org.ua

(Some people have issue connecting. LEMON is investigating. For now, use Firefox or change your DNS server)

Or, hide this message: temporarily or permanently

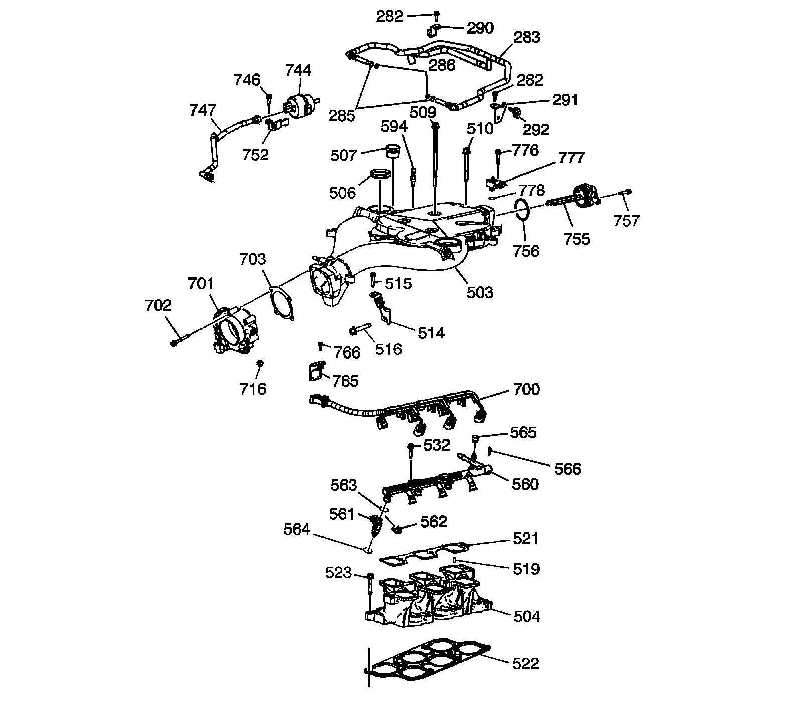
Intake Manifold



Disassembled Views

Intake Manifold:





282 - PCV Hose Bolt
282 - PCV Hose Bolt
283 - Dirty PCV Hose
285 - PCV Hose O-Ring Outer/Larger
286 - PCV Hose O-Ring Inner/Smaller
290 - PCV Hose Right Bracket
291 - PCV Hose Left Bracket
292 - PCV Hose Clip
503 - Upper Intake Manifold
504 - Lower Intake Manifold
506 - Expansion Plug
507 - Sight Plug
509 - Upper Intake Manifold Bolt - Long
510 - Upper Intake Manifold Bolt - Short
514 - Intake Manifold Brace
515 - Intake Manifold Brace Small Bolt
516 - Intake Manifold Brace Large Bolt
519 - Lower Intake Manifold to Upper Intake Manifold
521 - Upper Intake Manifold Gasket
522 - Lower Intake Manifold Gasket
523 - Lower Intake Manifold Bolt
532 - Fuel Rail Bolt
560 - Fuel Rail
561 - Fuel Injector
562 - Fuel Injector Retainer
563 - Fuel Injector Upper Seal
564 - Fuel Injector Lower Seal
565 - Fuel Pressure Service Valve Cap
566 - Fuel Pressure Service Valve
594 - Fuel Injector Sight Shield Cover Ball Stud
700 - Fuel Injector Wiring Harness
701 - Throttle Body
702 - Throttle Body Bolt
703 - Throttle Body Gasket
716 - Throttle Body Engine Wiring Harness Clip
744 - EVAP Purge Solenoid
746 - EVAP Purge Solenoid Bolt
747 - EVAP Purge Solenoid Tube
752 - EVAP Purge Solenoid Bracket
755 - Intake Manifold Tuning Valve
756 - Intake Manifold Tuning Valve O-Ring
757 - Intake Manifold Tuning Valve Bolt
765 - Fuel Injector Wiring Harness Bracket
766 - Fuel Injector Wiring Harness Bracket Bolt
776 - BARO Sensor Bolt
777 - BARO Sensor
778 - BARO Sensor O-Ring