Operation CHARM: Car repair manuals for everyone.
Manuals through 2025 now available!

Our trusted friends have launched a new website named LEMON, which has newer manuals. It also contains all the CHARM manuals.

LEMON is the spiritual successor to CHARM, I recommend you try it!

Link: lemon-manuals.la or lemon-manuals.org.ua

(Some people have issue connecting. LEMON is investigating. For now, use Firefox or change your DNS server)

Or, hide this message: temporarily or permanently

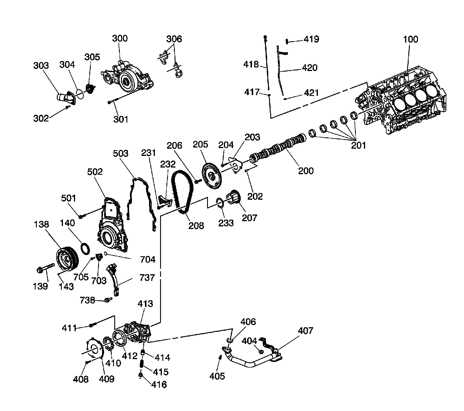
Front of Engine



Disassembled Views

Front of Engine:





100 - Engine Block
138 - Crankshaft Balancer
139 - Crankshaft Balancer Bolt
140 - Crankshaft Front Oil Seal
143 - Balance Weight - Crankshaft Balancer
200 - Camshaft
201 - Camshaft Bearings
202 - Camshaft Sprocket Locating Pin
203 - Camshaft Retainer Plate
204 - Bolt
205 - Camshaft Sprocket
206 - Bolt
207 - Crankshaft Sprocket
208 - Timing Chain
231 - Bolt
232 - Timing Chain Dampener
233 - Washer
300 - Water Pump
301 - Bolt
302 - Bolt
303 - Water Inlet Housing
304 - O-Ring
305 - Thermostat
306 - Water Pump Gasket
404 - Nut
405 - Bolt
406 - O-Ring
407 - Oil Pump Screen
408 - Bolt
409 - Oil Pump Housing Cover
410 - Oil Pump Drive Gear
411 - Bolt
412 - Oil Pump Driven Gear
413 - Oil Pump Housing
414 - Oil Pump Pressure Relief Valve
415 - Oil Pump Pressure Relief Valve Spring
416 - Oil Pump Housing Plug
417 - O-Ring
418 - Oil Level Indicator
419 - Bolt
420 - Oil Level Indicator Tube
421 - O-Ring
501 - Bolt
502 - Engine Front Cover
503 - Engine Front Cover Gasket
703 - Camshaft Position (CMP) Sensor
704 - O-Ring
705 - Bolt
737 - CMP Sensor Wire Harness
738 - Bolt