Operation CHARM: Car repair manuals for everyone.
Manuals through 2025 now available!

Our trusted friends have launched a new website named LEMON, which has newer manuals. It also contains all the CHARM manuals.

LEMON is the spiritual successor to CHARM, I recommend you try it!

Link: lemon-manuals.la or lemon-manuals.org.ua

(Some people have issue connecting. LEMON is investigating. For now, use Firefox or change your DNS server)

Or, hide this message: temporarily or permanently

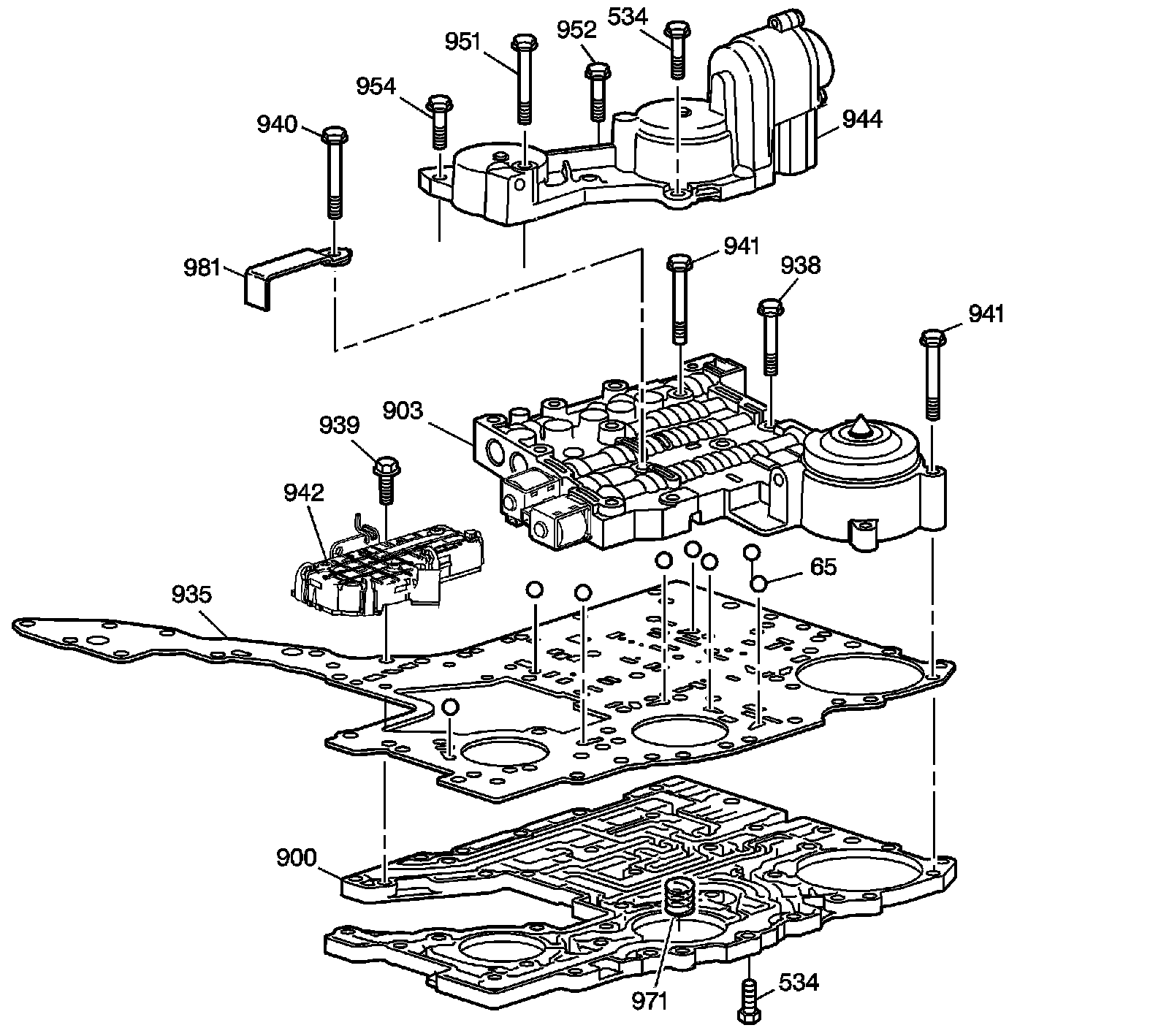
Control Valve Body Assembly



Disassembled Views

Upper Control Valve Body Assembly:





15 - PC Solenoid Clamp Bolt
65 - Oil Hole Plug Ball
300 - Upper Control Valve Body
301 - Accumulator Boost Valve
302 - 1-2/3-4 Accumulator Valve
303 - 1-2/3-4 Accumulator Valve Bushing
304 - Coiled Spring Pin (2)
304 - Coiled Spring Pin (2)
306 - 2-3 Accumulator Valve
307 - Bore Plug (4)
307 - Bore Plug (4)
307 - Bore Plug (4)
307 - Bore Plug (4)
308 - Retainer Clip (4)
308 - Retainer Clip (4)
308 - Retainer Clip (4)
308 - Retainer Clip (4)
309 - Actuator Feed Limit Valve
310 - Actuator Feed Limit Spring
311 - Spring Retainer Plate
312 - Converter Feed Limit Valve
313 - Converter Feed Limit Spring
316 - Converter Clutch Control Spring
317 - Converter Clutch Control Valve
318 - Converter Regulator Valve
319 - Converter Clutch Regulator Spring
322 - TCC Enable Valve
323 - TCC Enable Valve Spring
336 - TCC Pressure Solenoid
337 - Spring Retainer Clip
338 - Pressure Control Solenoid Filter and Seal
339 - Pressure Control Solenoid (PCS)
340 - PC Solenoid Clamp (PCS Clamp)
343 - Orificed Cup Plug
345 - 2-3 Accumulator Piston
346 - 2-3 Accumulator Piston Seal
347 - 2-3 Accumulator Piston Spring
348 - 2-3 Accumulator Pin
349 - Snap Ring
349 - Snap Ring
350 - Temperature Sensor
351 - 2-3 Accumulator Piston Cushion Spring

Lower Channel Plate, Control Valve Body and Accumulator Housing Assembly:





65 - Checkballs (8)
534 - Channel Plate to LCVB Bolt (1, 10 mm) - Channel Plate to Accumulator Housing Bolt (3, 10 mm) - Accumulator Housing to Channel Plate Bolt (1, 10 mm)
534 - Channel Plate to LCVB Bolt (1, 10 mm) - Channel Plate to Accumulator Housing Bolt (3, 10 mm) - Accumulator Housing to Channel Plate Bolt (1, 10 mm)
900 - Lower Channel Plate
903 - Channel Plate/Control Valve and Housing Assembly
935 - Space/Gasket Plate Assembly
938 - LCVB to Channel Plate Bolt (5, 10 mm)
939 - Spacer Plate Support to Channel Plate Bolt (3, 8 mm)
940 - LCVB to Channel Plate Bolt (2, 10 mm)
941 - LCVB to Channel Plate Bolt (8, 10 mm)
941 - LCVB to Channel Plate Bolt (8, 10 mm)
942 - Internal Mode Switch (IMS)
944 - Accumulator Housing
951 - Accumulator Assembly to Channel Plate Bolt (1, 10 mm)
952 - Accumulator Assembly to Channel Plate Bolt (3, 10 mm)
954 - Accumulator Assembly to Channel Plate Bolt (1, 10 mm)
971 - 1-2 Accumulator Inner Spring Assembly
981 - Pressure Control Solenoid Valve Fluid Filter Retainer

Lower Control Valve Body Assembly:





308 - Retainer Clip (3)
308 - Retainer Clip (3)
308 - Retainer Clip (3)
901 - Return Spring
902 - Retaining Ring
903 - Lower Control Valve Body
904 - Spring Retainer
905 - Ball Check Capsule
906 - 2-3 Shift Valve Spring
907 - 2-3 Shift Valve C
908 - 2-3 Shift Valve D
909 - 1-2 Shift Solenoid Valve
910 - 2-3 Shift Solenoid Valve
911 - 3-4 Shift Valve Spring
912 - 3-4 Shift Valve
913 - Manual Valve Link
914 - Bore Plug
915 - Manual Valve Link Retainer
916 - Manual Valve
917 - Solenoid Screen Assembly
918 - 1-2 Shift Valve Spring
919 - 1-2 Shift Valve A
920 - 1-2 Shift Valve B
928 - Low/Reverse Servo Piston
929 - Low/Reverse Servo Seal (Small)
930 - Low/Reverse Servo Seal (Large)
931 - Low/Reverse Servo Apply Pin
932 - Retaining Ring
933 - Servo Cushion Spring Washer
934 - Servo Cushion Spring
979 - Ball (0.375 Diameter)
980 - Low/Reverse Cushion Sleeve