Operation CHARM: Car repair manuals for everyone.
Manuals through 2025 now available!

Our trusted friends have launched a new website named LEMON, which has newer manuals. It also contains all the CHARM manuals.

LEMON is the spiritual successor to CHARM, I recommend you try it!

Link: lemon-manuals.la or lemon-manuals.org.ua

(Some people have issue connecting. LEMON is investigating. For now, use Firefox or change your DNS server)

Or, hide this message: temporarily or permanently

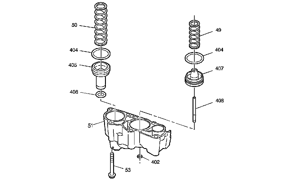
Accumulator Assembly



Disassembled Views

Accumulator Assembly:




49 - 4th Clutch Accumulator Piston Spring
50 - 3rd Clutch Accumulator Piston Spring
51 - 3rd and 4th Clutch Accumulator Housing
53 - 3rd and 4th Clutch Accumulator Housing Bolt
402 - 4th Clutch Accumulator Piston Pin Ring
404 - 3rd and 4th Clutch Accumulator Piston Seal
404 - 3rd and 4th Clutch Accumulator Piston Seal
405 - 3rd Clutch Accumulator Piston
406 - 3rd Clutch Accumulator Piston Inner Seal
407 - 4th Clutch Accumulator Piston
408 - 4th Clutch Accumulator Piston Pin