Operation CHARM: Car repair manuals for everyone.
Manuals through 2025 now available!

Our trusted friends have launched a new website named LEMON, which has newer manuals. It also contains all the CHARM manuals.

LEMON is the spiritual successor to CHARM, I recommend you try it!

Link: lemon-manuals.la or lemon-manuals.org.ua

(Some people have issue connecting. LEMON is investigating. For now, use Firefox or change your DNS server)

Or, hide this message: temporarily or permanently

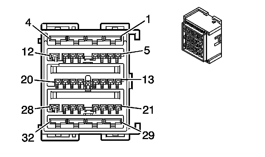
Underhood Fuse Block



Electrical Center Identification Views

Fuse Block - Underhood Top View






Fuse Block - Underhood Bottom View






Fuse Block - Underhood C1














Fuse Block - Underhood C2









Fuse Block - Underhood C2 (Pin 1 To 24):





Fuse Block - Underhood C2 (Pin 25 To 76):





Fuse Block - Underhood C2 (Pin 77 To 84):






Fuse Block - Underhood C3









Fuse Block - Underhood C3 (Pin 1 To 26):





Fuse Block - Underhood C3 (Pin 27 To 54):