Operation CHARM: Car repair manuals for everyone.
Manuals through 2025 now available!

Our trusted friends have launched a new website named LEMON, which has newer manuals. It also contains all the CHARM manuals.

LEMON is the spiritual successor to CHARM, I recommend you try it!

Link: lemon-manuals.la or lemon-manuals.org.ua

(Some people have issue connecting. LEMON is investigating. For now, use Firefox or change your DNS server)

Or, hide this message: temporarily or permanently

Lighting Systems Component Views (LHD)



Lighting Systems Component Views (LHD)

Instrument Panel and Floor Console Components





1 - Driver Information Center (DIC) Switch
2 - Dimmer Switch
3 - Turn Signal/Multifunction Switch
4 - Inflatable Restraint Steering Wheel Module
5 - Instrument Panel Cluster (IPC)
6 - Windshield Wiper/Washer Switch
7 - Sunload/Ambient Light Sensor
8 - Speaker - Instrument Panel (UQS)
9 - Analog Clock
10 - Radio/CD/DVD/Navigation Unit (UV2)
11 - Inflatable Restraint I/P Module
12 - HVAC Control Module
13 - Rear Window Defogger Switch
14 - Courtesy Lamp - Right Footwell
15 - Hazard Switch
16 - Tow/Haul Switch
17 - Cigar Lighter
18 - Rear Video Display (U42)
19 - DVD Player (U42)
20 - Speaker - Center Console (UQS)
21 - Auxiliary Power Outlet - Center Console 2 (UQS)
22 - Auxiliary Power Outlet - Center Console 1
23 - Floor Console
24 - Inflatable Restraint I/P Module Indicator (AQS)
25 - Traction Control Switch
26 - Inside Air Temperature Sensor
27 - Steering Wheel Controls - Right
28 - Courtesy Lamp - Left Footwell
29 - Steering Wheel Controls - Left

Front Exterior Lights (TT6/TT7)




1 - Headlamp - Low Beam - Left, Right Similar
2 - Headlamp - High Beam - Left, Right Similar
3 - Headlamp Ballast - Left, Right Similar (TR7)
4 - Marker Lamp - Left
5 - Headlamp Assembly - Left
6 - Turn Signal Lamp - LF
7 - Fog Lamp - LF
8 - Park Lamp - Right/Left
9 - Fog Lamp - RF
10 - Turn Signal Lamp - RF
11 - Headlamp Assembly - Right
12 - Marker Lamp - Right
13 - Headlamp Washer Fluid Nozzle - Left/Right (XA7)

Front Exterior Lights (w/o TT6/TT7)




1 - Turn Signal Lamp - RF, LF Similar
2 - Fog Lamp - RF, LF Similar
3 - Headlamp - Low Beam - Left, Right Similar
4 - Marker Lamp - Left, Right Similar
5 - Headlamp - High Beam - Left, Right Similar
6 - Park Lamp - Left, Right Similar

Headlamp Leveling Sensors (TR7)




1 - Headlamp Leveling Sensor - Front
2 - Headlamp Leveling Sensor - Rear

Pedal Switches and Sensors

Pedal Switches and Sensors:




1 - Park Brake Switch
2 - Brake Pedal Position Sensor
3 - Accelerator Pedal Position (APP) Sensor
4 - Left Front Floor Panel

Rear Exterior Lights




1 - Center High Mounted Stop Lamp (CHMSL)
2 - Courtesy Lamp - Liftgate
3 - Tail Lamp Assembly - Right
4 - Tail Lamp Drive Module - Right
5 - Object Sensor - RR Corner
6 - Backup Lamp - Right
7 - License Lamp - Right
8 - Object Sensor - RR Middle
9 - Object Sensor - LR Middle
10 - License Lamp - Left
11 - Backup Lamp - Left
12 - Object Sensor - LR Corner
13 - Tail Lamp Drive Module - Left
14 - Tail Lamp Assembly - Left
15 - C901
16 - Fog Lamp - LR/RR (T79)

Tailgate Exterior Lights




1 - License Lamp Assembly
2 - License Lamp - Right
3 - Backup Lamp - Right
4 - Fog Lamp - RR (T79)
5 - Fog Lamp - LR (T79)
6 - Backup Lamp - Left
7 - License Lamp - Left

Headliner and Overhead Console Components




1 - Inside Rearview Mirror (ISRVM) Connector
2 - Courtesy/Reading Lamp - Front Left
3 - Courtesy/Reading Lamp Switch - Front Left
4 - Sunshade - Left
5 - Garage Door Opener (UG1)
6 - Vanity Mirror Lamp Switch - Left
7 - Vanity Mirror Lamp Connector - Left
8 - Vanity Mirror Lamps - Left
9 - Rear Wiper/Washer Switch
10 - Blower Motor Switch - Auxiliary (C57)
11 - Noise Compensation Microphone (UQS)
12 - Vanity Mirror Lamps - Right
13 - Sunshade Connector - Right
14 - Sunshade - Right
15 - Vanity Mirror Lamp Switch - Right
16 - Courtesy/Reading Lamp Switch - Front Right
17 - Courtesy/Reading Lamp - Front Right
18 - Overhead Console Assembly - Center
19 - Blower Motor Switch - Rear Auxiliary (C57)
20 - Courtesy Lamp - Left Center
21 - Courtesy Lamp Switch - Left Center
22 - Blower Motor Switch Connector - Rear Auxiliary (C57)
23 - Courtesy Lamps Connector
24 - Courtesy Lamp Switch - Right Center
25 - Courtesy Lamp - Right Center
26 - Repeater Lamp - Left, Right Similar (T90)

Door and Footwell Courtesy Lamps




1 - Door - Driver
2 - Courtesy Lamp - LF Door, RF Similar
3 - Hush Panel
4 - Courtesy Lamp - Left Footwell, Right Similar

Headliner




1 - Blower Motor Switch - Front Auxiliary (C57)
2 - Blower Motor Switch - Rear Auxiliary (C57)
3 - Courtesy/Reading Lamp - Rear
4 - Rear Parking Assist (RPA) Display
5 - Courtesy/Reading Lamp - Center
6 - Courtesy/Reading Lamp - Front

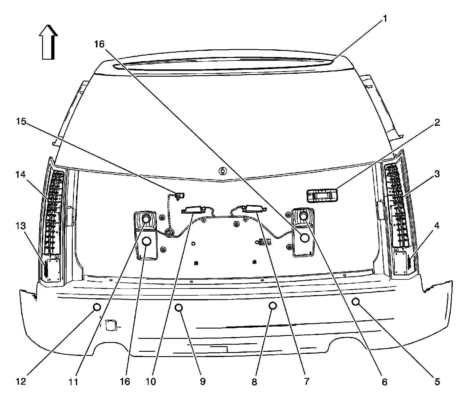
Liftgate Components




1 - Center High Mounted Stop Lamp (CHMSL)
2 - C404
3 - C403
4 - Rear Window Defogger Grid C2
5 - Rear Window Wiper Motor
6 - S902
7 - License Lamp/Backup Lamp Harness
8 - S904
9 - S903
10 - S909
11 - Liftgate Handle Switch
12 - Liftgate Latch
13 - S901
14 - License Lamps
15 - Courtesy Lamp - Rear Liftgate
16 - Rear Window Defogger Grid C2
17 - C401