Operation CHARM: Car repair manuals for everyone.
Manuals through 2025 now available!

Our trusted friends have launched a new website named LEMON, which has newer manuals. It also contains all the CHARM manuals.

LEMON is the spiritual successor to CHARM, I recommend you try it!

Link: lemon-manuals.la or lemon-manuals.org.ua

(Some people have issue connecting. LEMON is investigating. For now, use Firefox or change your DNS server)

Or, hide this message: temporarily or permanently

Thread Repair Specifications



Thread Repair Specifications

Left Cylinder Head Camshaft Cover Face

Left Cylinder Head Camshaft Cover Face:









Left Cylinder Head Front Face

Left Cylinder Head Front Face:









Left Cylinder Head Intake Face

Left Cylinder Head Intake Face:









Left Cylinder Head Exhaust Face

Left Cylinder Head Exhaust Face:









Left Cylinder Head Rear Face

Left Cylinder Head Rear Face:









Right Cylinder Head Camshaft Cover Face

Right Cylinder Head Camshaft Cover Face:









Right Cylinder Head Front Face

Right Cylinder Head Front Face:









Right Cylinder Head Intake Face

Right Cylinder Head Intake Face:









Right Cylinder Head Exhaust Face

Right Cylinder Head Exhaust Face:









Right Cylinder Head Rear Face

Right Cylinder Head Rear Face:









Engine Block Front

Engine Block Front:









Engine Block Left Side

Engine Block Left Side:









Engine Block Right Side

Engine Block Right Side:









Engine Block Rear

Engine Block Rear:









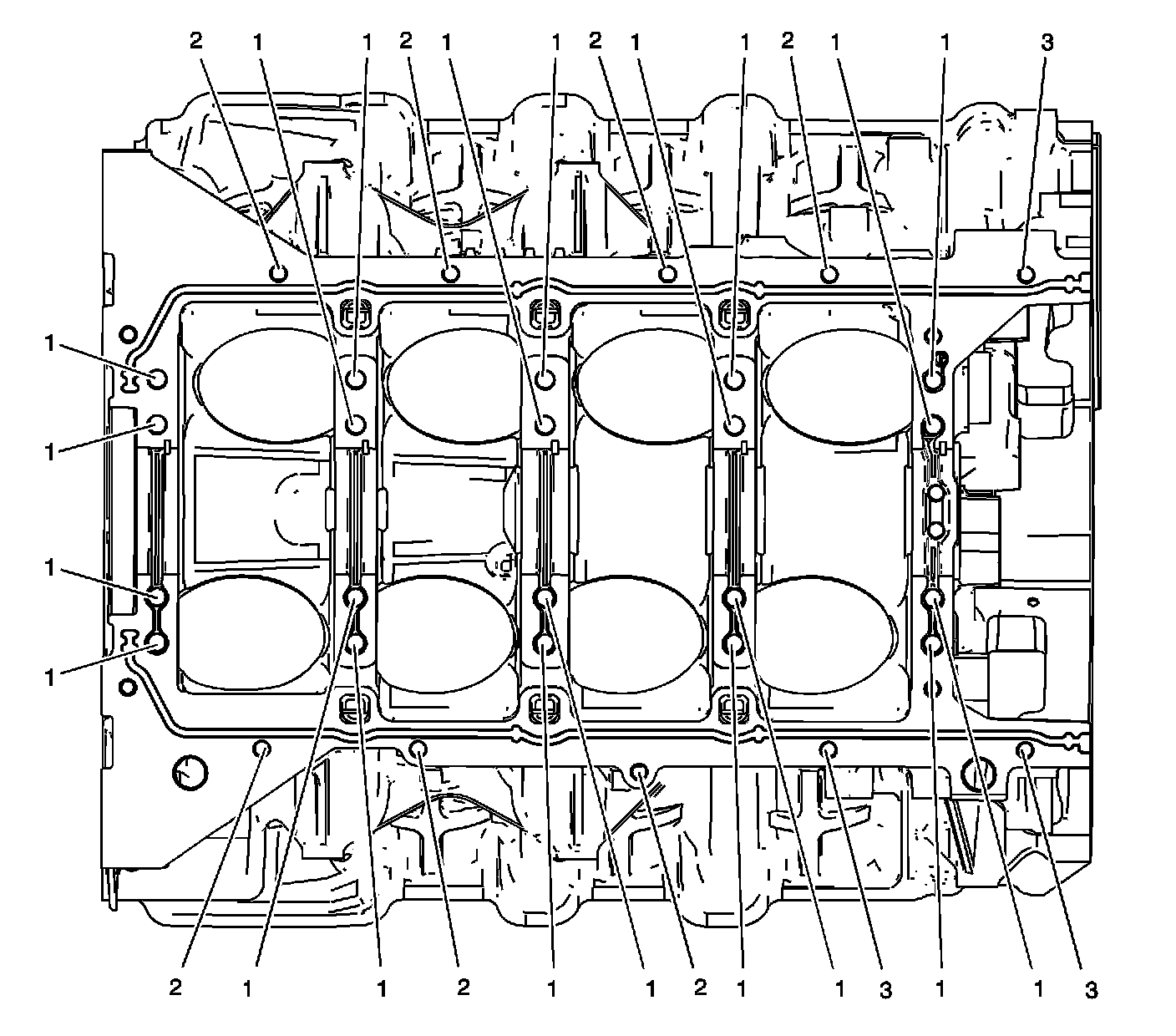
Engine Block Top

Engine Block Top:









Engine Block Left Deck Face

Engine Block Left Deck Face:









Engine Block Right Deck Face

Engine Block Right Deck Face:









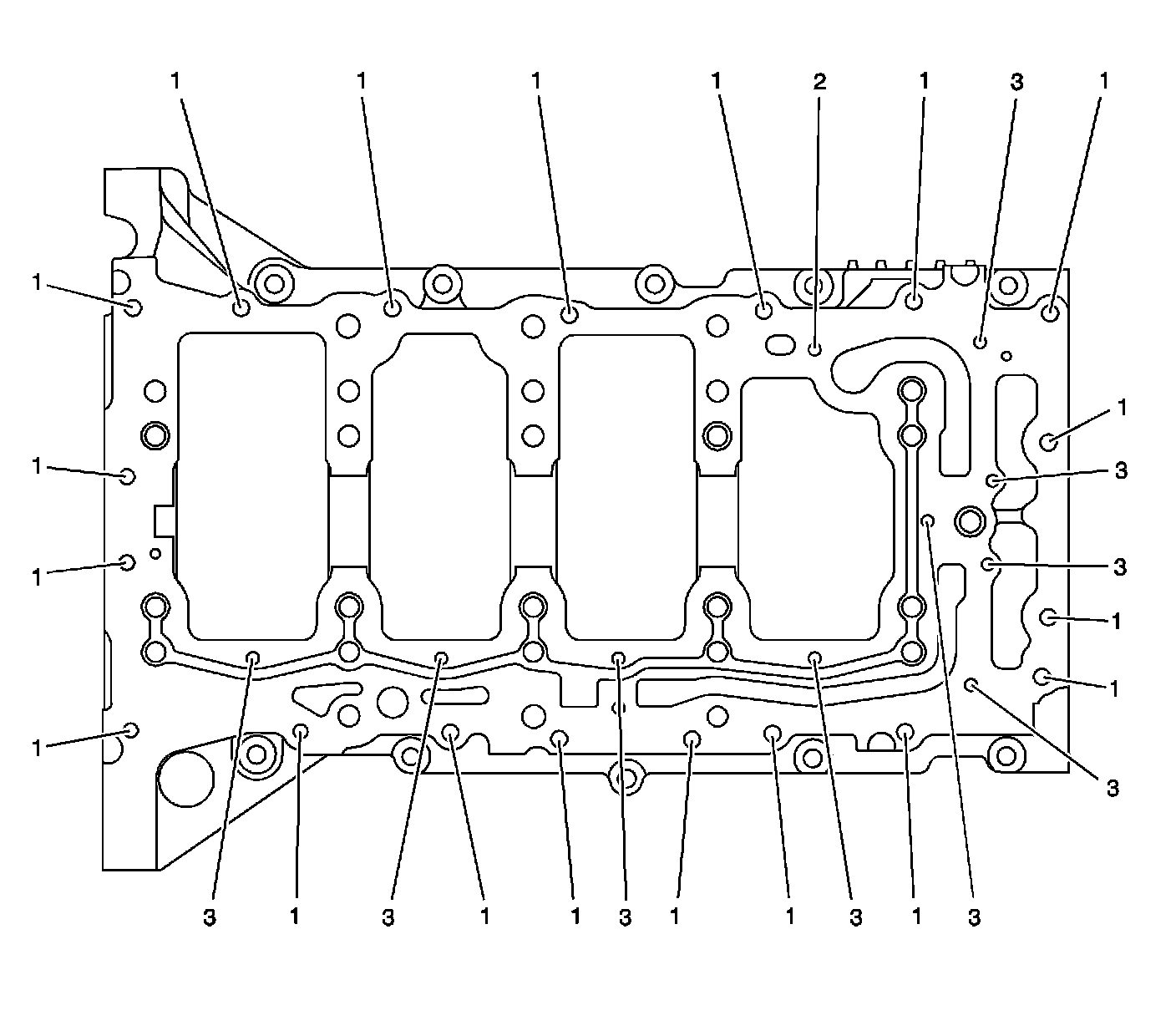
Engine Block Lower Face

Engine Block Lower Face:









Lower Crankcase Pan Face

Lower Crankcase Pan Face:









Engine Front Cover

Engine Front Cover:









Camshaft Position Actuator Housing

Camshaft Position Actuator Housing:









Camshaft Covers

Camshaft Covers:









#1 Threads are created initially when coil ground strap bolt is installed.

Oil Pan - Left

Oil Pan Left:









Oil Pan - Right

Oil Pan Right:









Oil Pan - Rear

Oil Pan - Rear: