Operation CHARM: Car repair manuals for everyone.
Manuals through 2025 now available!

Our trusted friends have launched a new website named LEMON, which has newer manuals. It also contains all the CHARM manuals.

LEMON is the spiritual successor to CHARM, I recommend you try it!

Link: lemon-manuals.la or lemon-manuals.org.ua

(Some people have issue connecting. LEMON is investigating. For now, use Firefox or change your DNS server)

Or, hide this message: temporarily or permanently

Radiator Inlet Hose Replacement




Radiator Inlet Hose Replacement (LSA) (6.2 L)

Special Tools

J 38185 - Hose Clamp Pliers

Removal Procedure

1. Drain the cooling system. Refer to Cooling System Draining and Filling (GE 47716) (Service and Repair)Cooling System Draining and Filling (Static Fill) (Service and Repair).
2. Remove the front compartment sight shield. Refer to Front Compartment Sight Shields Replacement (Front Compartment Sight Shields Replacement)




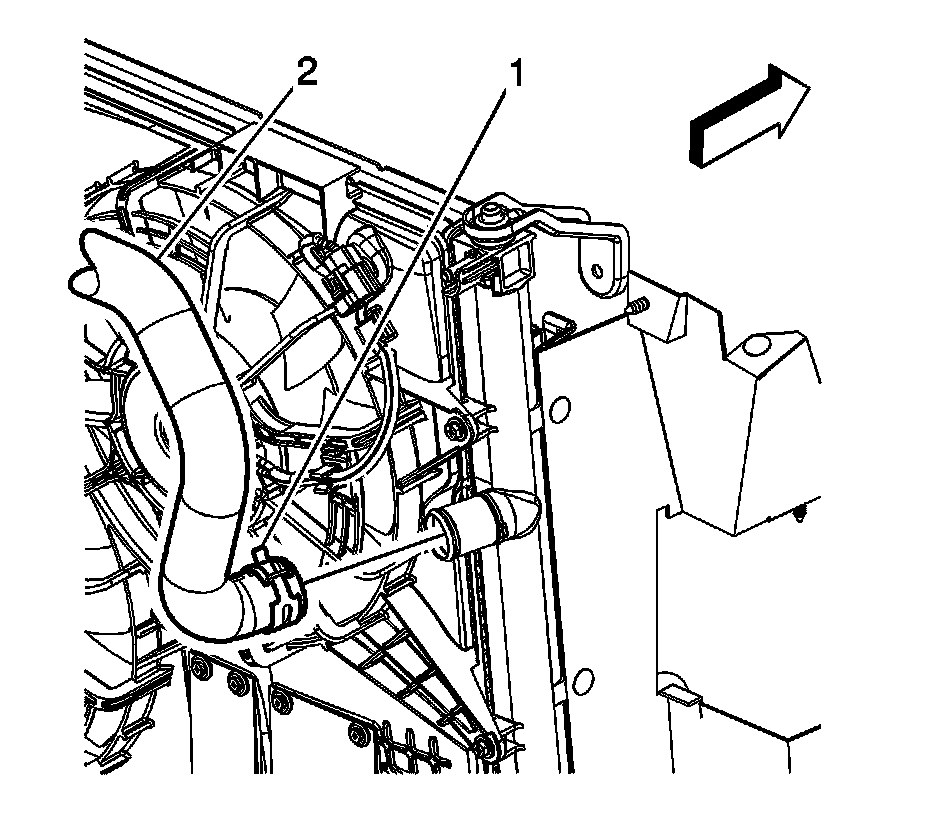
3. Reposition the radiator inlet hose clamp (1) at radiator using J 38185 - Hose Clamp Pliers.
4. Remove the radiator inlet hose (2) from the radiator.




5. Unclip the radiator inlet hose retainer (1) from the fan shroud.




6. Reposition the radiator inlet hose clamp (1) at engine using J 38185 - Hose Clamp Pliers.
7. Remove the radiator inlet hose (2) from the engine.
8. Remove the radiator inlet hose from the vehicle.

Installation Procedure




1. Install the radiator inlet hose to the vehicle.
2. Install the radiator inlet hose (2) to the engine.
3. Reposition the radiator inlet hose clamp (1) at engine using J 38185 - Hose Clamp Pliers.




4. Clip the radiator inlet hose retainer (1) to the fan shroud.




5. Install the radiator inlet hose (2) to the radiator.
6. Reposition the radiator inlet hose clamp (1) at radiator using J 38185 - Hose Clamp Pliers.
7. Install the front compartment sight shield. Refer to Front Compartment Sight Shields Replacement (Front Compartment Sight Shields Replacement)
8. Fill the cooling system. Refer to Cooling System Draining and Filling (GE 47716) (Service and Repair)Cooling System Draining and Filling (Static Fill) (Service and Repair).