Operation CHARM: Car repair manuals for everyone.
Manuals through 2025 now available!

Our trusted friends have launched a new website named LEMON, which has newer manuals. It also contains all the CHARM manuals.

LEMON is the spiritual successor to CHARM, I recommend you try it!

Link: lemon-manuals.la or lemon-manuals.org.ua

(Some people have issue connecting. LEMON is investigating. For now, use Firefox or change your DNS server)

Or, hide this message: temporarily or permanently

Control Valve Lower Body Assemble




Control Valve Lower Body Assemble

Special Tools

J 36850 - Assembly Lubricant (or equivalent)

For equivalent regional tools, refer to Special Tools (Tools and Equipment).




1. Inspect the lower control valve body (903) for scratches or debris in the valve bores.
2. Inspect the mating surfaces for damage.
3. Inspect the servo bore for damage.
4. Inspect all fluid passages for debris.




5. Attach the manual valve link (913) onto the manual valve (916). Install the manual valve and link assembly into the lower control valve body.




6. Install the following parts:

1. The 2-3 shift valve spring (906)
2. The 2-3 shift valve C (907)
3. The 2-3 shift valve D (908)
4. The 2-3 shift solenoid valve (910)
5. The 2-3 shift solenoid valve retainer clip (308)




7. Install the solenoid screen assembly (917).




8. Install the following parts:

1. The 1-2 shift valve spring (918)
2. The 1-2 shift valve A (919)
3. The 1-2 shift valve B (920)
4. The 1-2 shift solenoid valve (909)
5. The 1-2 shift solenoid valve retainer clip (308)




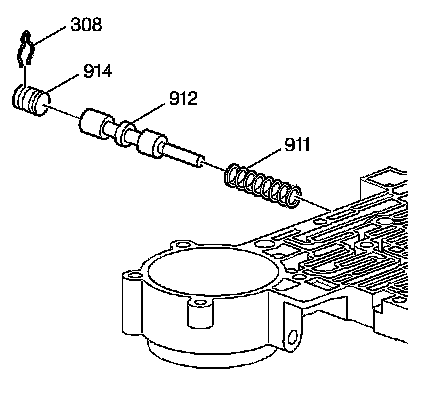
9. Install the following parts:

1. The 3-4 shift valve spring (911)
2. The 3-4 shift valve (912)
3. The bore plug (914)
4. The bore plug retainer clip (308)




10. Install the following parts:

1. The ball (979)
2. The ball check capsule (905)
3. The spring retainer (904)




11. Install the washer (933) and the sleeve (980) onto the servo apply pin (931).
12. Install the servo cushion spring (934) into the low/reverse servo piston (928).
13. Install the servo apply pin (931) into the low/reverse piston (928).
14. Install the retaining ring (902) onto the servo apply pin (931).
15. Place the return spring (901) into the low/reverse servo bore.
16. Place new seals (929, 930) on the low/reverse servo piston (929), and install the low/reverse servo assembly into the servo bore. Attach the retaining ring (932) to the servo apply pin (931).




17. Install the checkballs (#5, #7, #8, #9) into the lower control valve body (903). Retain the checkballs in position with J 36850 - assembly lubricant or equivalent.