Operation CHARM: Car repair manuals for everyone.
Manuals through 2025 now available!

Our trusted friends have launched a new website named LEMON, which has newer manuals. It also contains all the CHARM manuals.

LEMON is the spiritual successor to CHARM, I recommend you try it!

Link: lemon-manuals.la or lemon-manuals.org.ua

(Some people have issue connecting. LEMON is investigating. For now, use Firefox or change your DNS server)

Or, hide this message: temporarily or permanently

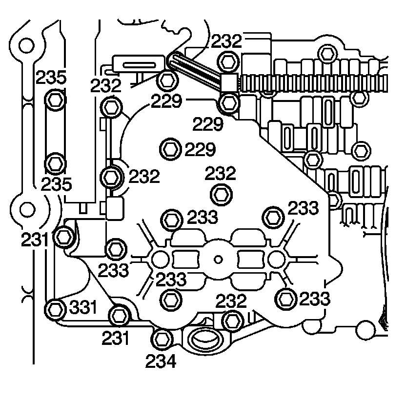
Pump Installation




Pump Installation

Special Tools

J 39068 - Pump Assembly Guide Pins

For equivalent regional tools, refer to Special Tools (Tools and Equipment).




1. Install the J 39068 - guide pins into the case.
2. Install the new gasket (228).
3. Install the pump assembly (200-225).




4. Apply pipe thread sealant, GM P/N 12346004 to pump bolt threads before installation.
5. Hand start all of the bolts (229, 231, 232, 233, 234, 235, 331).





Caution: Refer to Fastener Caution (Fastener Caution).

6. Remove the guide pins, install the remaining bolts and tighten to 11-13 Nm (8.0-9.5 lb ft).