Operation CHARM: Car repair manuals for everyone.
Manuals through 2025 now available!

Our trusted friends have launched a new website named LEMON, which has newer manuals. It also contains all the CHARM manuals.

LEMON is the spiritual successor to CHARM, I recommend you try it!

Link: lemon-manuals.la or lemon-manuals.org.ua

(Some people have issue connecting. LEMON is investigating. For now, use Firefox or change your DNS server)

Or, hide this message: temporarily or permanently

LLT




Radiator Replacement (LLT) (3.6L)

Special Tools

J 38185 - Hose Clamp Pliers

Removal Procedure

1. Drain the coolant. Refer to Cooling System Draining and Filling (GE 47716) (Service and Repair)Cooling System Draining and Filling (Static Fill) (Service and Repair).
2. Remove the electric cooling fan. Refer to Engine Coolant Fan Replacement (LH2 Heavy Duty Cooling) (Service and Repair)Engine Coolant Fan Replacement (LC3, LY7) (Service and Repair)Engine Coolant Fan Replacement (LH2 without V92, LLT) (Service and Repair).




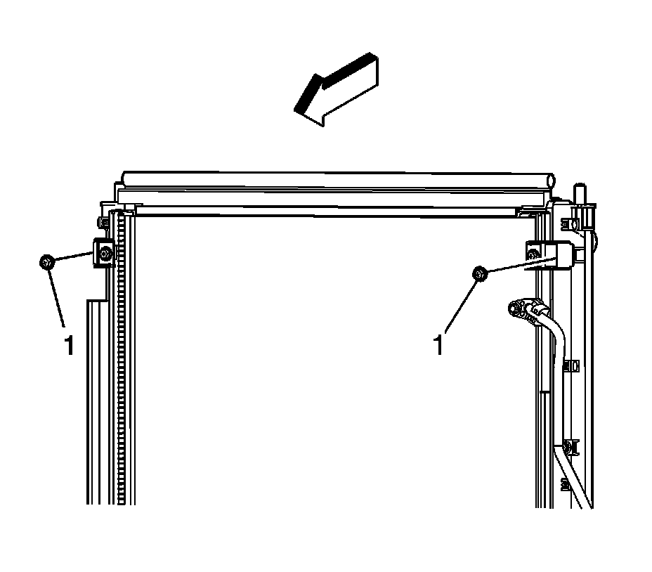
3. Remove the upper condenser mounting bolts (1).




4. Remove the lower condenser mounting bolts (1).




5. Disconnect the lower retaining pins of the side air baffle from the radiator.

Note: Reposition the condenser to access the transmission oil cooler mounting bolts.

6. Remove the transmission oil cooler (TOC) mounting bolts (1).
7. Lower the vehicle.




8. Use J 38185 - Hose Clamp Pliers to disengage the tension on the hose clamp (1). Remove the radiator outlet hose (2) from the radiator.




9. Use J 38185 - Hose Clamp Pliers to disengage the tension on the hose clamp (1). Remove the radiator inlet hose (2) from the radiator.




10. Use J 38185 - Hose Clamp Pliers to disengage the tension on the hose clamp (1). Remove the surge tank inlet hose (2) from the radiator.




11. Use J 38185 - Hose Clamp Pliers to disengage the tension on the hose clamp (1). Remove the auxiliary water pump outlet hose (2) from the radiator.




12. Remove the radiator support bracket bolts (1).
13. Remove the radiator support brackets (2).
14. Disconnect the upper air baffle retaining pins from the radiator.
15. Remove the radiator.

Installation Procedure

1. Install the radiator.
2. Connect the upper air baffle retaining pins to the radiator.





Caution: Refer to Fastener Caution (Fastener Caution).

3. Install the radiator support brackets (2).
4. Install the radiator support bracket bolts (1) and tighten to 9 Nm (80 lb in).




5. Connect the auxiliary water pump outlet hose to the radiator (2). Use J 38185 - Hose Clamp Pliers to position the auxiliary water pump outlet hose clamp (1) to secure the hose.




6. Connect the surge tank inlet hose (2) to the radiator. Use J 38185 - Hose Clamp
Pliers to position the surge tank inlet hose clamp (1) to secure the hose.




7. Connect the radiator inlet hose (2) to the radiator. Use J 38185 - Hose Clamp Pliers to position the radiator inlet hose clamp (1) to secure the hose.




8. Connect the radiator outlet hose (2) to the radiator. Use J 38185 - Hose Clamp Pliers to position the radiator outlet hose clamp (1) to secure the hose.
9. Raise and support the vehicle.




10. Install the TOC mounting bolts (1) and tighten to 5 Nm (44 lb in).
11. Connect the lower retaining pins of the side air baffle to the radiator.




12. Install the lower condenser mounting bolts (1) and tighten to 5.4 Nm (48 lb in).




13. Install the upper condenser mounting bolts (1) and tighten to 5.4 Nm (48 lb in).
14. Install the electric cooling fan. Refer to Engine Coolant Fan Replacement (LH2 Heavy Duty Cooling) (Service and Repair)Engine Coolant Fan Replacement (LC3, LY7) (Service and Repair)Engine Coolant Fan Replacement (LH2 without V92, LLT) (Service and Repair).
15. Fill the cooling system. Refer to Cooling System Draining and Filling (GE 47716) (Service and Repair)Cooling System Draining and Filling (Static Fill) (Service and Repair).