Operation CHARM: Car repair manuals for everyone.
Manuals through 2025 now available!

Our trusted friends have launched a new website named LEMON, which has newer manuals. It also contains all the CHARM manuals.

LEMON is the spiritual successor to CHARM, I recommend you try it!

Link: lemon-manuals.la or lemon-manuals.org.ua

(Some people have issue connecting. LEMON is investigating. For now, use Firefox or change your DNS server)

Or, hide this message: temporarily or permanently

Transfer Case Disassemble




Transfer Case Disassemble

Special Tools
* DT-47752 - Split Plate Set
* J-2619-A - Slide Hammer w/Adapter
* J 8107-2 - Side Bearing Puller Pilot
* J 8433 - Two Jaw Puller
* J 22888-20A - Universal Two Jaw Puller
* J 23444-A - Extreme Press Lubricant - 1/4-Ounce Tube
* J 29369-1 - Bushing and Bearing Remover

For equivalent regional tools, refer to Special Tools (Tools and Equipment).




1. Remove the bolts (16) and the dampener (300), some models.




2. Remove the drain plug (8) and the fill plug (6). Ensure all transfer case fluid is drained out of the transfer case.





Caution: Clean all exposed bolt threads prior to removing the bolts. Failure to clean the exposed bolt threads prior to removal may result in bolt thread damage.

3. Remove the 17 case attaching bolts (11).





Caution: Refer to Machined Surface Damage Caution (Machined Surface Damage Caution).

4. Using a screwdriver at the pry points located on the case (1) and cover (2), pry the case (1) and cover (2) apart.




5. Separate the case (1) and cover (2).
6. Remove the alignment dowel (3) from the case, if necessary.




7. Remove the chain snubber.




8. Install 1 plate of the DT-47752 - split plate set perpendicular to the chain and rotate 180 degrees.




9. Install the second plate perpendicular to the chain and secure with the short plate bolts.




10. Install the DT-47752-2 (2) onto the front output shaft (112).

Note: Use high pressure grease J 23444-A - lubricant on the screw threads.

11. Using the long bolts and washers from the DT-47752 - split plate set , install the J 8433 - puller (1). Tighten evenly so the puller remains parallel to the plates.





Caution: Failure to support the input shaft and carrier during removal may bind and damage the chain.

12. Install the DT-47752-3 into the input shaft.
13. Using an impact wrench, tighten the forcing screw of the DT-47752-2 in order to remove the sprockets, chain, and carrier assembly.




14. Remove the J 8433 - puller (1) and the DT-47752-2 (2).





Note: If the chain and sprockets are to be used again, note the position of the blue chain link, in or out.

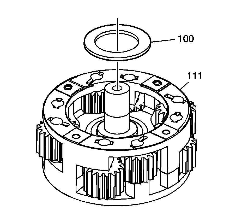
15. Remove the lower sprocket (112), chain (109), and carrier (111) as an assembly.




16. Remove the DT-47752 - split plate set from the case.




17. Remove the snap ring (114).
18. Push the front output shaft (112) from the case (1).




19. Remove the vent baffle bolt (9) and baffle (10) from the case (1).





Caution: Refer to Transfer Case Seal Removal Caution (Vehicle Damage Warnings).

20. Using a hammer and a suitable driver, remove the front output seal (13) and input seal (14) from the case (1).





Note: Only remove the bearings if they are to be replaced.

21. Using a hammer and a suitable punch, remove the front output bearing (113) and input bearing (117) if they are to be replaced.




22. If required, remove the vent (15) and discard.
23. Install a NEW vent.




24. Remove the thrust washer (100) from the carrier (111).




25. Using a press, remove the input shaft assembly (118, 107, and 110) from the carrier (111).





Note: The carrier assembly (111) must be installed with the thrust washer and groove around the splines toward the output shaft. Reversing this causes a mis-build, and the wrong torque split of 60/40.

26. Note the direction of the carrier assembly (111). The groove around the splines face toward the output shaft.




27. Using the J 22888-20A - puller (1) and the J 8107-2 - bearing puller (2), remove the rear sun gear (101) from the rear output shaft.




28. Using snap ring pliers, remove the snap ring (102) from the output shaft (106).
29. Push the output shaft (106) from the cover (2).





Caution: Refer to Transfer Case Seal Removal Caution (Vehicle Damage Warnings).

Caution: Refer to Transfer Case Bearing Removal Caution (Technician Safety Information).

30. Using a hammer and a suitable punch, from inside the cover, drive out the rear output seal (7) and the outside output bearing (104).





Caution: Refer to Transfer Case Bearing Removal Caution (Technician Safety Information).

31. Using a hammer and a suitable punch, from outside the cover (2), inside the output shaft bore, drive out the inner output shaft bearing (103).





Caution: Refer to Transfer Case Bearing Removal Caution (Technician Safety Information).

32. Using the J-2619-A - slide hammer (1) and the J 29369-1 - bushing and bearing remover (2), remove the front output cover bearing (116) from the cover.