Operation CHARM: Car repair manuals for everyone.
Manuals through 2025 now available!

Our trusted friends have launched a new website named LEMON, which has newer manuals. It also contains all the CHARM manuals.

LEMON is the spiritual successor to CHARM, I recommend you try it!

Link: lemon-manuals.la or lemon-manuals.org.ua

(Some people have issue connecting. LEMON is investigating. For now, use Firefox or change your DNS server)

Or, hide this message: temporarily or permanently

Engine Support Fixture




Engine Support Fixture

Special Tools

J 28467-81 Engine Support Fixture Kit

Installation Procedure

1. Remove the hood. Refer to Hood Replacement (Service and Repair).
2. Remove the engine cover. Refer to Intake Manifold Sight Shield Replacement (Service and Repair).
3. Disconnect the negative battery cable from the battery. Refer to Battery Negative Cable Disconnection and Connection (Service and Repair).




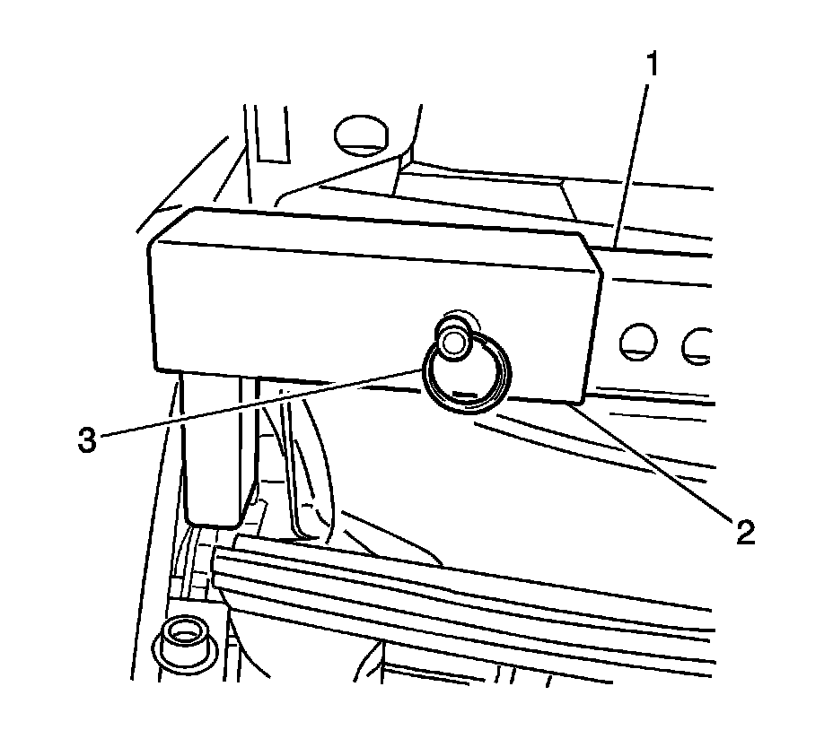
4. Remove the battery negative cable bolt (3) from the RH rear of cylinder head. Position the battery negative cable (1) and ground junction (2) aside.
5. Remove the camshaft cover ground strap from the camshaft cover. Position the ground strap aside.
6. Remove the plastic wire harness protector from the frame rail pinch weld to provide clearance for the engine lift hook.




7. Install the J 28467-87 Right Engine Lift Bracket to the right cylinder head.




8. Remove the bolt securing the wiring harness to the left cylinder head.
9. Install the J 28467-86 Left Engine Lift Bracket to the left cylinder head.




10. Assemble a J 28467-83 Rear Crossbar Support (2) to each end of the J 28467-3 Rear Crossbar (1). Secure the assembly with the lock pin (3).




11. Position the rear crossbar assembly (1-3) over the hood hinge brackets with the support located over each hood safety catch bracket.




12. Assemble a J 28467-82 Front Crossbar Legs to each end of the J 28467-85 Front Crossbar (1).




13. Install the 0.5 in X 2.5 in J 28467-10 Quick Release Pins (4).




14. Place the front crossbar assembly with supporting legs on the right and left frame rails. Each leg should rest in the shock absorber upper mount on the frame rail.
15. Install the right and left sidebars (3-4) over the front and rear crossbars.




16. Install the J 28467-1A assembly and hand tighten.
17. Repeat steps 12 and 13 for the remaining three corners of the support fixture assembly.




18. Install the J 28467-7A lift hook through the J 28467-6A lift hook bracket.
19. Install the 1/2 inch lift hook washer and the J 28467-34 lift hook wing nut onto the J 28467-7A lift hook.




20. Install the J 28467-6A assembled lift hook (1) over the J 28467-84 left sidebar (2).
21. Adjust the J 28467-6A assembled lift hook bracket (1) in order to align the hook with the J 28467-86 left engine lift hook bracket.




22. Repeat step 18 for the right lift hook (3).




23. Install each J 28467-7A lift hook (5,6) through each engine lift hook bracket. Ensure that the hooks do not damage the surrounding components.
24. Hand-tighten the lift hook wing nuts securely to remove all slack from the engine support fixture assembly.

Removal Procedure




1. Loosen and remove the J 28467-7A lift hooks (5,6)
2. Remove the J 28467-81 Engine Support Fixture Kit (1-4).




3. Remove the J 28467-86 Left Engine Lift Bracket from the left cylinder head.

Caution: Refer to Fastener Caution (Fastener Caution).

4. Install the bolt securing the wiring harness to the left cylinder head and tighten to 35 Nm (26 lb ft).




5. Remove the J 28467-87 Right Engine Lift Bracket from the right cylinder head.
6. Install the plastic wire harness protector to the frame rail pinch weld.
7. Install the camshaft cover ground strap to the camshaft cover and tighten to 10 Nm (89 lb in).
8. Install the battery negative cable and ground junction to the RH rear of cylinder head and tighten to 35 Nm (26 lb ft).
9. Connect the negative battery cable to the battery. Refer to Battery Negative Cable Disconnection and Connection (Service and Repair).
10. Install the engine cover. Refer to Intake Manifold Sight Shield Replacement (Service and Repair).
11. Install the hood. Refer to Hood Replacement (Service and Repair).