Operation CHARM: Car repair manuals for everyone.
Manuals through 2025 now available!

Our trusted friends have launched a new website named LEMON, which has newer manuals. It also contains all the CHARM manuals.

LEMON is the spiritual successor to CHARM, I recommend you try it!

Link: lemon-manuals.la or lemon-manuals.org.ua

(Some people have issue connecting. LEMON is investigating. For now, use Firefox or change your DNS server)

Or, hide this message: temporarily or permanently

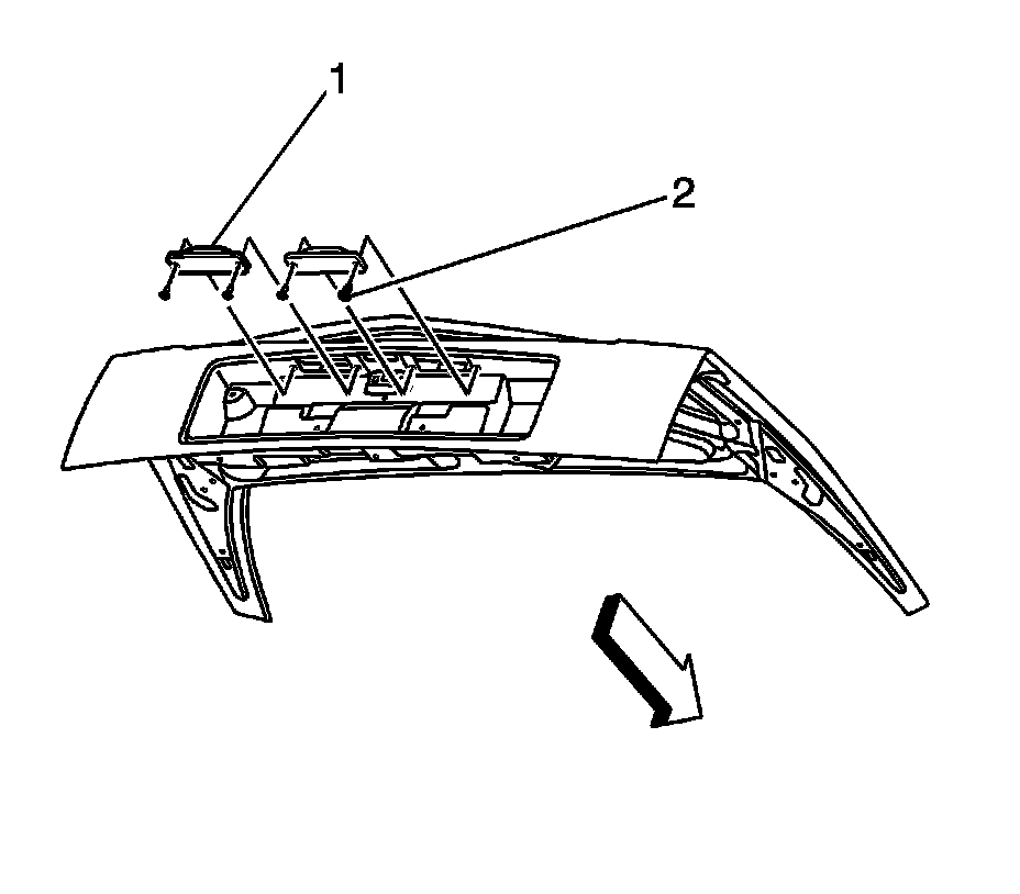
License Plate Lamp: Service and Repair




Rear License Lamp Replacement

Removal Procedure

1. Remove the back up lamp assembly. Refer to Backup Lamp Replacement (Service and Repair).




2. Remove the screws (2) attaching the license lamp (1) to the rear compartment lid.
3. Remove the license lamp from the rear compartment lid.
4. Remove the bulb/socket from the license lamp.

Installation Procedure

1. Install the license lamp bulb/socket to the license lamp.




2. Position the license lamp (1) to the rear compartment lid.

Caution: Refer to Fastener Caution (Fastener Caution).

3. Install the license lamp screws (2) and tighten to 2 Nm (18 lb in).
4. Inspect the license lamp for proper operation.
5. Install the back up lamp. Refer to Backup Lamp Replacement (Service and Repair).