Operation CHARM: Car repair manuals for everyone.
Manuals through 2025 now available!

Our trusted friends have launched a new website named LEMON, which has newer manuals. It also contains all the CHARM manuals.

LEMON is the spiritual successor to CHARM, I recommend you try it!

Link: lemon-manuals.la or lemon-manuals.org.ua

(Some people have issue connecting. LEMON is investigating. For now, use Firefox or change your DNS server)

Or, hide this message: temporarily or permanently

Quarter Window Glass: Service and Repair




Folding Top Quarter Window Replacement

Removal Procedure




1. The distance (A) from the windshield header to the leading edge of the folding top panel is 400 mm (15.75 in).
2. Place a protective covering over the interior of the vehicle and the adjacent body panels.




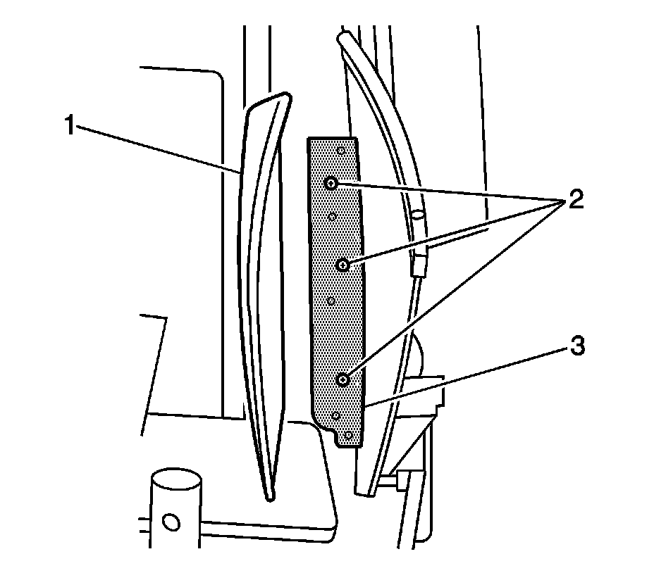
3. Partially remove the quarter window trim (1) to gain access to the quarter window screws (2).
4. Using a grease pencil, mark the location of the screws (2) on the quarter window bracket (3).
5. Remove the quarter window screws (2).




6. Remove the quarter window (1) from the vehicle.

Installation Procedure




1. Position the quarter window to the vehicle.
2. Apply LOCTITE(TM) Blue, GM P/N 12345382 (Canadian P/N 10953489) or equivalent to the bolts.
3. Install the quarter window screws (2). Do NOT tighten.

Caution: Refer to Fastener Caution (Fastener Caution).

4. Align the screws (2) to the marks on the bracket (3) and tighten to 7 Nm (62 lb in).
5. Install the quarter window trim (1).
6. Manually close the folding top. Refer to Folding Top Manual Operation (Folding Top Manual Operation).
7. Adjust the quarter window, if required. Refer to Folding Top Quarter Window Adjustment (Adjustments).
8. Remove the protective covering.
9. Cycle the folding top under power through one complete cycle in both directions.
10. Inspect the folding top for proper operation. Refer to Power Folding Top Description and Operation (Power Folding Top Description and Operation).