Operation CHARM: Car repair manuals for everyone.
Manuals through 2025 now available!

Our trusted friends have launched a new website named LEMON, which has newer manuals. It also contains all the CHARM manuals.

LEMON is the spiritual successor to CHARM, I recommend you try it!

Link: lemon-manuals.la or lemon-manuals.org.ua

(Some people have issue connecting. LEMON is investigating. For now, use Firefox or change your DNS server)

Or, hide this message: temporarily or permanently

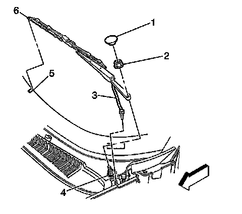
Wiper Arm: Service and Repair




Windshield Wiper Arm Replacement

Removal Procedure

1. Open the hood.
2. Turn the ignition switch to the ACCY position.
3. Turn the wiper switch to the DELAY position.
4. Turn the ignition switch OFF when the wiper arms are in the mid-wipe position.




5. Place a piece of masking tape (5) onto the windshield at the tip of each wiper blade (6) to aid in the wiper arm reinstallation.
6. Disconnect the washer hose (3) from the air inlet grille panel.
7. Remove the wiper arm nut cover (1).
8. Remove the wiper arm nut (2).
9. Firmly grasp the wiper arm at the hinged joint. Apply a rocking motion toward the windshield to loosen the arm from the wiper shaft (4).
10. Remove the wiper arm.
11. Remove the wiper blade (6) from the wiper arm. Refer to Windshield Wiper Blade Replacement (Removal and Replacement).

Installation Procedure

1. Install the wiper blade (6) onto the wiper arm. Refer to Windshield Wiper Blade Replacement (Removal and Replacement).
2. Inspect the wiper transmission shaft (4) and wiper arm splines for corrosion, clean if necessary.




3. Position the tip of the wiper blade (6) to the marks made on the windshield with masking tape (5).
4. Install the wiper arm onto the wiper transmission (4) splined shaft.

Caution: Refer to Fastener Caution (Fastener Caution).

5. Install the wiper arm nut (2) and tighten to 29 Nm (21 lb ft).
6. Install the wiper arm nut cover (1).
7. Connect the washer hose (3) to the air inlet grille panel.
8. Remove the masking tape (5) from the windshield.
9. Inspect the wipers for proper operation.