Operation CHARM: Car repair manuals for everyone.
Manuals through 2025 now available!

Our trusted friends have launched a new website named LEMON, which has newer manuals. It also contains all the CHARM manuals.

LEMON is the spiritual successor to CHARM, I recommend you try it!

Link: lemon-manuals.la or lemon-manuals.org.ua

(Some people have issue connecting. LEMON is investigating. For now, use Firefox or change your DNS server)

Or, hide this message: temporarily or permanently

Disassembled Views (Engine)




Disassembled Views

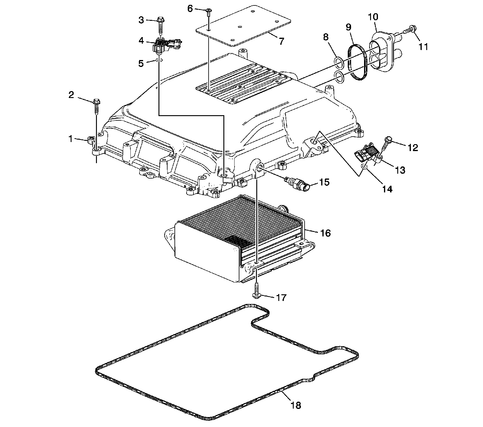
Supercharger Cover Assembly




1 - Charge Air Cooler Cover
2 - Charge Air Cooler Cover Bolt
3 - Barometric Pressure Sensor Bolt
4 - Barometric Pressure Sensor
5 - Barometric Pressure Sensor Seal
6 - Isolator Pad Bolt
7 - Isolator Pad
8 - Charge Air Cooler Coolant Pipe Seal
9 - Charge Air Cooler Coolant Outlet Pipe Assembly Seal
10 - Charge Air Cooler Coolant Outlet Pipe Assembly
11 - Charge Air Cooler Coolant Outlet Pipe Assembly Bolt
12 - Supercharger Air Outlet Pressure Sensor Bolt
13 - Supercharger Air Outlet Pressure Sensor
14 - Supercharger Air Outlet Pressure Sensor Seal
15 - Intake Air Temperature Sensor
16 - Charge Air Cooler
17 - Charge Air Cooler Bolt
18 - Charge Air Cooler Cover Seal