Operation CHARM: Car repair manuals for everyone.
Manuals through 2025 now available!

Our trusted friends have launched a new website named LEMON, which has newer manuals. It also contains all the CHARM manuals.

LEMON is the spiritual successor to CHARM, I recommend you try it!

Link: lemon-manuals.la or lemon-manuals.org.ua

(Some people have issue connecting. LEMON is investigating. For now, use Firefox or change your DNS server)

Or, hide this message: temporarily or permanently

Wiper Motor: Service and Repair




Windshield Wiper Motor Replacement

Special Tools
* J 39232 Wiper Linkage Separator
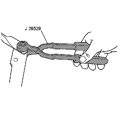
* J 39529 Wiper Linkage Installer

Removal Procedure




1. Remove the windshield wiper transmission (1). Refer to Windshield Wiper Transmission Replacement (Service and Repair).




2. Remove the drive links from the wiper motor crank arm to the wiper motor using the J 39232 .




3. Remove the 3 screws (1) retaining the wiper motor to the wiper motor module.
4. Remove the wiper motor.

Installation Procedure





Caution: Refer to Fastener Caution (Fastener Caution).

1. Install the wiper motor onto the wiper motor module assembly with the screws (1) and tighten to 10 Nm (89 lb in).




2. Install the drive links onto the wiper motor crank arm using the J 39529 .




3. Install the windshield wiper transmission (1). Refer to Windshield Wiper Transmission Replacement (Service and Repair).
4. Operate the wipers and check for proper operation.