Operation CHARM: Car repair manuals for everyone.
Manuals through 2025 now available!

Our trusted friends have launched a new website named LEMON, which has newer manuals. It also contains all the CHARM manuals.

LEMON is the spiritual successor to CHARM, I recommend you try it!

Link: lemon-manuals.la or lemon-manuals.org.ua

(Some people have issue connecting. LEMON is investigating. For now, use Firefox or change your DNS server)

Or, hide this message: temporarily or permanently

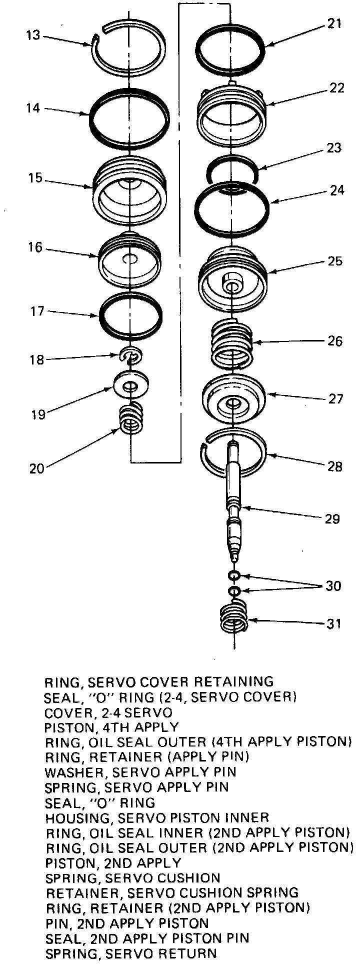
2-4 Servo Assembly

NOTE: Changes to the second servo apply pin eliminates the need for the two ring seals used. This change eliminates the potential for seal damage during assembly. Beginning January 5, 1987 (Julian date 05) T M 700-R transmissions are built with a new servo apply pin. However, the new second servo apply piston pin can be used on all 1982-88 model transmissions. If the past design second servo apply pin is used, seal rings must be installed. Three different pin lengths are used 2.61-2.62 inch (part No. 8667571 with identification 2 rings), 2.67-2.68 inch (part No. 8667572 with identification 3 rings) and 2.72-2.73 inch (part No. 8667573 with identification wide band).






1. Install band apply pin tool No. J-33037 with apply pin, then torque assembly to 100 inch lbs.





2. If pin is the correct length, at least part of the white line will appear in the window. If white line does not appear, select another pin until correct one is obtained.

3. Inspect pistons for porosity and ring groove damage.

4. Inspect cover for porosity and damage.

5. Inspect seals for freeness in the seal groove, nicks or cuts.

6. Inspect springs for distortion.

7. Inspect pin for wear or burrs.

8. Inspect servo bore in case for any wear or sharp edges which may cut the servo seals.





9. Install cushion spring into 2nd apply piston, then the cushion spring retainer on the cushion spring.





10. Install piston compressor tool No. J-22269-01, and compress retainer past snap ring groove in 2nd apply piston.

11. Install retainer ring, then the 2nd apply piston onto the apply pin. Ensure retainer goes toward shoulder of pin.

12. Install servo apply pin spring on the pin, then the servo apply pin washer and retaining clip.

13. Install inner and outer seals on 2nd apply piston. Retain in position using suitable grease.

14. Install apply pin seals on apply pin. Retain in position using suitable release.

15. Install O-ring seal on servo piston housing.

16. Install servo piston inner housing on the 2nd apply piston.

17. Install seal ring onto 4th apply piston, then the 4th apply piston onto apply pin.

18. Install return spring on pin, then the servo piston assembly into the servo bore.

19. Install O-ring seal on servo cover. Lubricate seal with transmission fluid.

20. Install servo cover into servo bore.





21. Compress servo cover using tool No. J-29714 or equivalent,then install retainer ring.