Operation CHARM
: Car repair manuals for everyone.
Home
>>
Chevrolet
>>
1988
>>
Spectrum-Import L4-91.5 1509cc 1.5L VIN 7 2-bbl
>>
Repair and Diagnosis
>>
Powertrain Management
>>
Computers and Control Systems
>>
Locations
>>
Wiring Locations
>>
Notchback
Manuals through 2025 now available!
Our trusted friends have launched a new website named LEMON, which has newer manuals. It also contains all the CHARM manuals.
LEMON is the spiritual successor to CHARM, I recommend you try it!
Link:
lemon-manuals.la
or
lemon-manuals.org.ua
(Some people have issue connecting. LEMON is investigating. For now, use Firefox or change your DNS server)
Or, hide this message:
temporarily
or
permanently
Notchback
Engine Compartment Wiring:
Dash Wiring:
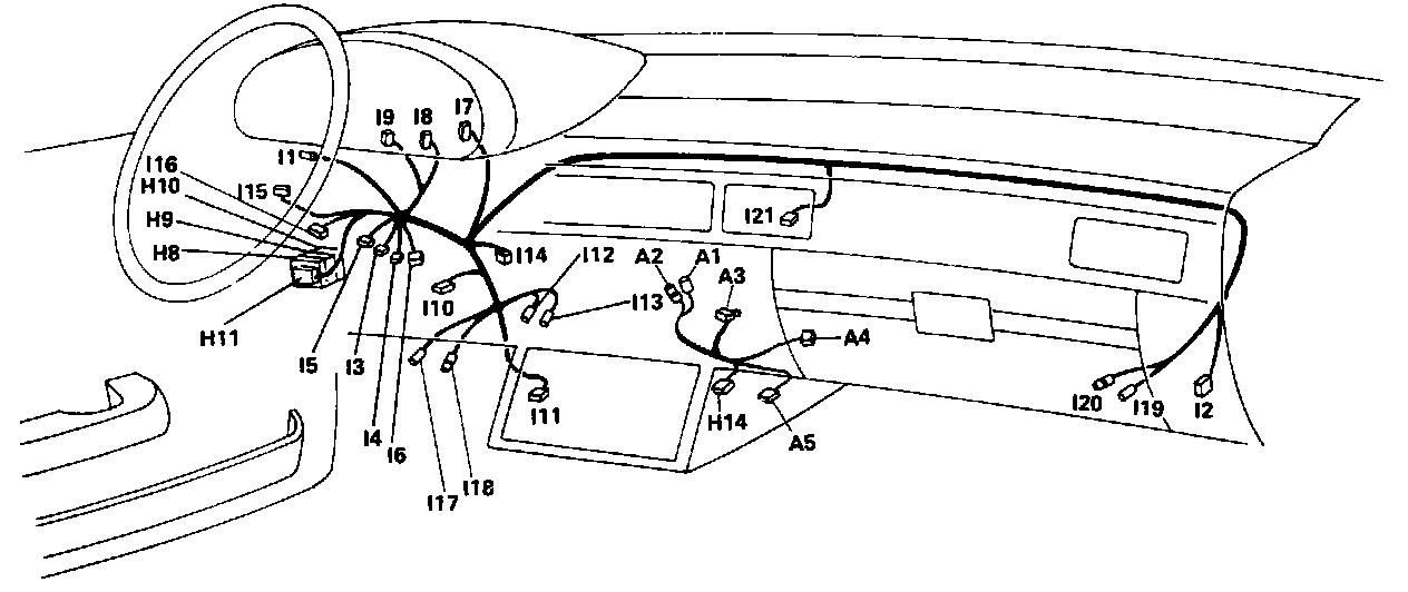
Instrument Panel Wiring:
Body Wiring:
Images
Wiring Identification (1 Of 4):
Wiring Identification (2 Of 4):
Wiring Identification (3 Of 4):
Wiring Identification (4 Of 4):
Index