Operation CHARM: Car repair manuals for everyone.
Manuals through 2025 now available!

Our trusted friends have launched a new website named LEMON, which has newer manuals. It also contains all the CHARM manuals.

LEMON is the spiritual successor to CHARM, I recommend you try it!

Link: lemon-manuals.la or lemon-manuals.org.ua

(Some people have issue connecting. LEMON is investigating. For now, use Firefox or change your DNS server)

Or, hide this message: temporarily or permanently

Standard Column

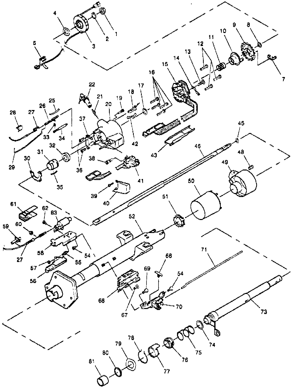
Fig. 36 Exploded View Of Standard Steering Column:






1- NUT, HEX LOCKING ( M 14 x 1.5 )
2- RING, RETAINING
3- COIL ASM, SIR
4- WASHER, WAVE
5- SHROUD, CONNECTOR
7- SPACER, SHAFT LOCK
8- RING, RETAINING
9- LOCK, SHAFT
10- CAM ASM, T/SIG CANCEL
11- SPRING, UPPER BEARING
12- SCREW, BINDING HD CROSS RECESS
13- SCREW, RD WASH HD ( M 4.2 x 1.41 )
14- ARM, SWITCH ACTUATOR
15- SWITCH ASM, TURN SIGNAL
16- SCREW, HEX WASHER HD TAPPING
17- WASHER, THRUST
18- SWITCH ASM, BUZZER
19- SCREW, LOCK RETAINING
20- HOUSING ASM, STRG COLUMN
21- SECTOR, SWITCH ACTUATOR
22- LOCK CYLINDER SET, STRG COLUMN
25- SPRING, RACK PRELOAD
26- RACK, SWITCH ACTUATOR
27- CABLE ASM, SOLENOID
28- CLIP, CONNECTOR
29- ROD, SWITCH ACTUATOR
30- RETAINER, UPPER BEARING
31- BUSHlNG, BEARING RETAINING
32- BEARING ASM
33- WASHER, SPRING THRUST
34- BOLT ASM, SPRING &
35- CONTACT, HORN CIRCUIT
36- SCREW, FLT HD CROSS RECESS
37- GATE, SHIFT LEVER
38- PIN, SWITCH ACTUATOR PIVOT
35- SCREW, BINDING HD CROSS RECESS
40- COVER, HOUSING
41- SWITCH ASM, PIVOT & (PULSE)
42- CLIP, BUZZER SWITCH RETAINING
43- PROTECTOR, WIRING
45- RING, RETAINING
46- SHAFT ASM, STEERING
48- SPRING, SHIFT LEVER
49- BOWL ASM, GEARSHIFT LEVER
50- SHROUD, GEARSHIFT BOWL
51- BEARING, BOWL LOWER
52- JACKET ASM, STRG COL
54- SCREW, WASH HD ( #10-24 x .25 )
55- STUD, DIMR & IGN SW MOUNTING
56- BRACKET ASM, CONNECTOR BODY
57- NUT, HEXAGON ( #10-24 )
58- BRACKET, SOLENOID
59- HOUSING ASM, ADJUSTER
60- CAP, BALL JOINT
61- PROTECTOR, SOLENOID
62- SCREW, HEX WASHER HEAD
63- SOLENOID ASM, INTERLOCK
66- RETAINER, CABLE
67- SCREW, FLAT HD ( #10-24 x .31 )
68- SWITCH ASM, IGNITION
69- SCREW, HEX WASHER HD TAPPING
70- SWITCH ASM, DIMMER
71- ROD, DIMMER SWITCH ACTUATOR
73- TUBE ASM, SHIFT
74- WASHER, SPRING THRUST
75- SPRING, SHIFT TUBE RETURN
76- BEARING ASM, ADAPTER &
77- RETAINER, BEARING
78- CLIP, LOWER BEARING ADAPTER
79- WASHER, BEARING PRELOAD
80- RETAINER, LOWER SPRING
81- SLEEVE, SHAFT

SERVICE KITS
201- COIL SERV KIT, INFL RESTRAINT -INCLUDES: 3, 5
202- HSG ASM SERV KIT, STRG COL -INCLUDES: 21, 22, 30, 31, 32
204- SECTOR SERVICE KIT, IGN SW ACTR -INCLUDES: 21
204- GREASE SERV KIT, (SYNTHETIC)
205- GREASE SERV KIT, BTSI