Operation CHARM: Car repair manuals for everyone.
Manuals through 2025 now available!

Our trusted friends have launched a new website named LEMON, which has newer manuals. It also contains all the CHARM manuals.

LEMON is the spiritual successor to CHARM, I recommend you try it!

Link: lemon-manuals.la or lemon-manuals.org.ua

(Some people have issue connecting. LEMON is investigating. For now, use Firefox or change your DNS server)

Or, hide this message: temporarily or permanently

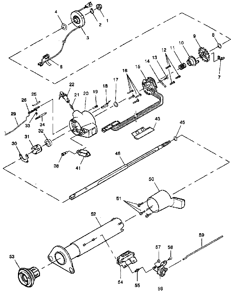
Standard Column

Exploded View Of Standard Steering Column:






1- NUT, HEX LOCKING (M14x1.5)
2- RING, RETAINING
3- COIL ASM, SIR
4- WASHER, WAVE
5- SHROUD, CONNECTOR
7- SPACER, SHAFT LOCK
8- RING, RETAINING
9- LOCK, SHAFT
10- CAM ASM, T/ SIG CANCEL
11- SPRING, UPPER BEARING
12- SCREW, BINDING HD CROSS RECESS
13- SCREW, RD WASH HD (M4.2x1 .41)
14- ARM, SWITCH ACTUATOR
15- SWITCH ASM, TURN SIGNAL
16- SCREW, HEX WASHER HD TAPPING 17-WASHER, THRUST
18- SWITCH ASM, BUZZER
19- SCREW, LOCK RETAINING
20- HOUSING ASM, STRG COLUMN
21- SECTOR, SWITCH ACTUATOR
22- LOCK CYLINDER SET, STRG COLUMN
25- SPRING, RACK PRELOAD
26- RACK, SWITCH ACTUATOR
29- ROD, SWITCH ACTUATOR
30- RETAINER, UPPER BEARING
31- BUSHING, BEARING RETAINING
32- BEARING ASM
33- WASHER, SPRING THRUST
34- BOLT ASM, SPRING &
38- PIN, SWITCH ACTUATOR PIVOT
41- PIVOT ASM, SWITCH ACTUATOR
43- PROTECTOR, WIRING
45- RING, RETAINING
46- SHAFT ASM, STEERING
50- BOWL, FLOORSHIFT
51- SCREW, BINDING HD CROSS RECESS
52- JACKET ASM, STRG COL
53- BUSHING ASM, STRG COL JACKET
54- SWITCH ASM, IGNITION
55- STUD, DIMR & IGN SW MOUNTING
56- SWITCH ASM, DIMMER
57- NUT, HEXAGON (#10-24)
58- SCREW, WASH HD (#10-24 x .25)
59- ROD, DIMMER SWITCH ACTUATOR

SERVICE KITS
201-COIL SERV KIT, INFL RESTRAINT-INCLUDES: 3, 5
202-HSG ASM SERV KIT, STRG COL-INCLUDES: 21, 22, 30, 31, 32
203-SECTOR SERV KIT, IGN SW ACTR-INCLUDES: 21
204-GREASE SERV KIT, (SYNTHETIC)