Operation CHARM: Car repair manuals for everyone.
Manuals through 2025 now available!

Our trusted friends have launched a new website named LEMON, which has newer manuals. It also contains all the CHARM manuals.

LEMON is the spiritual successor to CHARM, I recommend you try it!

Link: lemon-manuals.la or lemon-manuals.org.ua

(Some people have issue connecting. LEMON is investigating. For now, use Firefox or change your DNS server)

Or, hide this message: temporarily or permanently

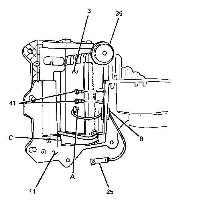
Heater Core: Service and Repair







A PROBE
B GROMMET
C PERFORATION FOR AIR CONDITIONING EVAPORATOR REMOVAL
3 EVAPORATOR, AIR CONDITIONING
11 MODULE ASSEMBLY, HEATER AND AIR CONDITIONING EVAPORATOR
25 SENSOR ASSEMBLY, AIR CONDITIONING EVAPORATOR TEMPERATURE
35 ACTUATOR ASSEMBLY, AIR INLET VACUUM
41 BOLT/SCREW, AIR CONDITIONING EVAPORATOR






3 EVAPORATOR, AIR CONDITIONING
4 CORE ASSEMBLY, HEATER
25 SENSOR ASSEMBLY, AIR CONDITIONING EVAPORATOR TEMPERATURE
41 BOLT/SCREW, AIR CONDITIONING EVAPORATOR
42 CASE ASSEMBLY, TEMPERATURE VALVE
43 LAMP, HEATER CORE TUBE
44 CASE, AIR CONDITIONING EVAPORATOR UPPER
45 CASE, AIR CONDITIONING EVAPORATOR LOWER
46 CASE, AIR DISTRIBUTOR UPPER
47 COVER, HEATER AND AIR CONDITIONING EVAPORATOR CASE
48 BOLT/SCREW, TEMPERATURE VALVE CASE ASSEMBLY
49 BOLT/SCREW, HEATER AND AIR CONDITIONING EVAPORATOR CASE COVER
59 BOLT/SCREW, HEATER CORE TUBE CLAMP
65 CLAMP, AIR CONDITIONING EVAPORATOR

Remove or Disconnect
1. Discharge refrigerant into a recovery station.
2. Drain coolant from radiator.
3. Right-hand instrument panel sound insulator panel assembly.
4. Heater hoses at heater core assembly.
5. Instrument panel compartment.
6. Heater core assembly.
7. Air conditioning evaporator temperature sensor assembly.
8. Temperature control cable assembly at temperature valve case assembly.
9. Bolts/screws (48) from temperature valve case assembly (42).
10. Temperature valve case assembly (42).
(A) Slide case assembly (42) downward to disengage upper case clip.
(B) Remove from under the instrument panel assembly.
11. Thermostatic expansion valve assembly.

Important: Remove perforated section of heater and air conditioning evaporator module assembly as one piece (it will be reused).

12. Using a small hand saw, remove perforated section of heater and air conditioning evaporator module assembly.
13. Bolts/screws (41) retaining air conditioning evaporator (3).
14. Air conditioning evaporator (3) from heater and air conditioning module assembly (11).
(A) Slide evaporator (3) to the left, then pull through the opening enlarged in step 12.

Install or Connect
1. Air conditioning evaporator (3) to heater and air conditioning module assembly (11).
(A) If replacing old evaporator (3), transfer condensate screen to new evaporator (3).
(B) Insert evaporator (3) into module assembly (11) through the opening enlarged during removal, slide to the right until fully seated.
2. Bolts/screws (41) to air conditioning evaporator (3).
3. Refrigerant oil into evaporator (3), if necessary.
(A) If installing new evaporator (3), add 89 ml (3 fluid ounces) of polyalkylene glycol (PAG) synthetic refrigerant oil, GM P/N 12345923 or equivalent.
4. Thermostatic expansion valve assembly.
5. Apply sealer GM P/N 3012078 (do not use epoxy glue) between evaporator (3) and evaporator upper and lower case (44 and 45) just behind thermostatic expansion valve assembly to prevent air entry from the engine compartment into the passenger compartment.
6. Position perforated section of heater and air conditioning evaporator module assembly and use epoxy glue to adhere it to module assembly.
7. Temperature valve case assembly (42).
(A) Install from under instrument panel assembly.
(B) Slide case assembly (42) upward into position until upper clip engages.
8. Bolts/screws (48) to temperature valve case assembly (42).
(A) Tighten bolts/screws (48) evenly to compress flange seal.
9. Temperature control cable assembly at temperature valve case assembly.
10. Air conditioning evaporator temperature sensor assembly.
11. Heater core assembly.
12. Instrument panel compartment.
13. Heater hoses to heater core assembly.
14. Right-hand instrument panel sound insulator panel assembly.
15. Fill radiator and bleed cooling system.
16. Refrigerant.
(A) Partially charge system and perform a leak test.
(B) Recover refrigerant, and evacuate and charge system.
17. Test system performance.