Operation CHARM: Car repair manuals for everyone.
Manuals through 2025 now available!

Our trusted friends have launched a new website named LEMON, which has newer manuals. It also contains all the CHARM manuals.

LEMON is the spiritual successor to CHARM, I recommend you try it!

Link: lemon-manuals.la or lemon-manuals.org.ua

(Some people have issue connecting. LEMON is investigating. For now, use Firefox or change your DNS server)

Or, hide this message: temporarily or permanently

Service Procedure

1. Disconnect the negative battery cable.

2. Remove the right-hand engine splash shield (in front of the right tire assembly).

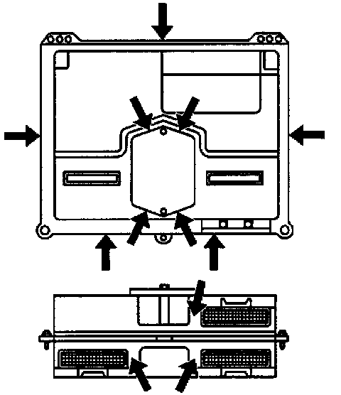
3. Remove the horn attachment bolt. Disconnect the wire and remove the horn.

4. Remove the PCM retainer attachment bolts (2). Slide the PCM and the retainer from the PCM bracket. Remove the retainer from the PCM.

5. Disconnect the PCM from the harness.

6. With the PCM harness disconnected, inspect the green weatherpack seal to ensure that the seal is intact and sealing properly to the wires and the body of the connectors.

7. Visually inspect the PCM for signs of corrosion or corrosion debris.

^ If no corrosion is visually present, proceed to Step 10.

^ If the PCM case has light surface corrosion, which could be cleaned using a Scotch Brite(R) or equivalent pad, especially where the two case halves seal and where the connectors seal to the case, proceed to Step 9.

^ If the PCM case has significant surface corrosion, especially where the two case halves seal and where the connectors seal to the case, proceed to Step 8.

8. Replace the PCM.

^ For 1995 vehicles: Transfer the EPROM (memcal/ESC module) from the original PCM to the replacement PCM. Proceed to Step 10.

^ For 1995 vehicles with LD2/MN4 or for 1996 vehicles: Transfer the knock sensor (ESC) module from the original PCM to the replacement PCM. Proceed to Step 10.

9. If the original PCM is to be placed in the vehicle, then the exterior surface must be thoroughly cleaned with a 3M Scotch Brite(R) or equivalent pad. Do not open the case and clean any internal surfaces. Also, the inside of the sealing shrouds for the connector must be CLEAN. Inspect for any obvious signs of damage to the sealing shroud such as cracks, pitting from corrosion, or corrosion debris that cannot be removed. Do not wire brush or file the sealing surface smooth. If any such conditions exist, the PCM must be replaced. Proceed to Step 10.

Important
The harness assembly will not seal if the sealing shroud of the PCM is damaged.

Important
The areas to be sealed must be thoroughly cleaned before applying the RTV Silicone Sealer. Failure to properly clean and prepare the surfaces to be sealed may result in an ineffective seal which could allow moisture to enter the PCM case.





10. The following procedure applies to original or new PCMs using a shop cloth, spray "brake clean," P/N 12377981 or the equivalent, onto the shop cloth (do not use Carb Cleaner, as it will leave an oil residue). Clean the areas to be sealed on the PCM (do not spray directly onto the PCM). Apply RTV silicone sealer, P/N 12345739 or the equivalent, to the entire perimeter of the PCM case, the screws and any areas where water may enter the case of the PCM. Apply the RTV silicone sealer to the KS (knock sensor) module or EPROM access cover and allow to setup before reinstalling in the vehicle.

11. Apply lubricant, P/N 12377900, to the weatherpack seal surface area of the connectors and reconnect the harness to the PCM.





12. Reinstall the plastic retainer to the PCM.

13. Install the PCM cover, P/N 22623903, over the PCM with the "F" facing outward.

14. Install the PCM into the vehicle bracket.





15. Install the PCM shield assembly, P/N 22623904, to the vehicle. Drape the shield over the PCM bracket. Remove the evap hose clip fastener and reinstall through the shield. Push the square cut over the PCM attachment nut. Remove the horn wiring attachment clip and reinstall through the shield.





16. Install the push-in retainer, P/N 10121502, through the lower front hole of the PCM shield and then through the side hole of the PCM cover.

17. Reprogram the new PCM (1995 LD2/MN4 and 1996 vehicles).

18. Install the Campaign Identification Label.