Operation CHARM: Car repair manuals for everyone.
Manuals through 2025 now available!

Our trusted friends have launched a new website named LEMON, which has newer manuals. It also contains all the CHARM manuals.

LEMON is the spiritual successor to CHARM, I recommend you try it!

Link: lemon-manuals.la or lemon-manuals.org.ua

(Some people have issue connecting. LEMON is investigating. For now, use Firefox or change your DNS server)

Or, hide this message: temporarily or permanently

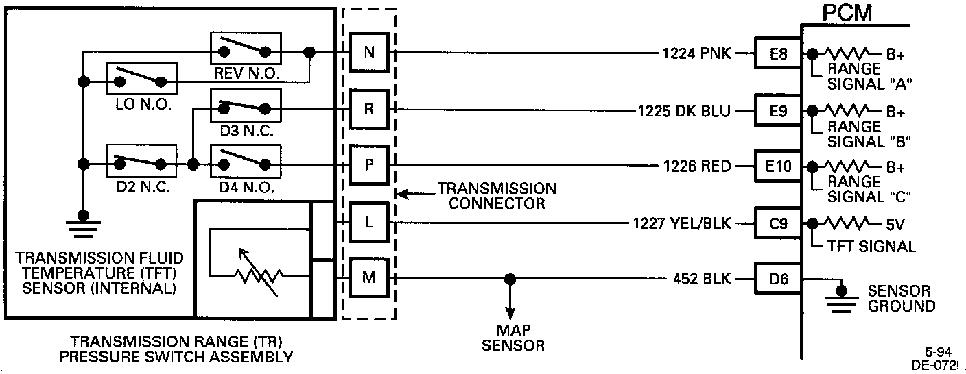
Transmission Range (TR) Pressure Switch Assembly Circuit Check

Transmission Range (TR) Pressure Switch Assembly Circuit Check:




Transmission Range (TR) Pressure Switch Assembly Circuit:




Transmission Range (TR) Pressure Switch Assembly Circuit:






CIRCUIT DESCRIPTION
The Transmission Range (TR) switch assembly consists of five pressure switches (two normally closed and three normally open), and a Transmission Fluid Temperature (TFT) sensor combined into one unit and mounted on the valve body. The Powertrain Control Module (PCM) supplies battery voltage to each range signal. By grounding one or more of these circuits through various combinations of the pressure switches, the PCM detects what manual valve position has been selected by the vehicle operator. With ignition "ON" and engine "OFF" P/N will be indicated. When transmission electrical connector is disconnected, the ground potential for the three range signals to the PCM will be removed, and with ignition "ON," D2 will be indicated.

DTC CHART TEST DESCRIPTION
Number(s) below refer to circled number(s) on the diagnostic charts.
1. This test checks the indicated range signal to the manual valve position actually selected.
2. This test checks for correct voltage from the PCM to the transmission external connector.
3. This test checks for a short to ground from the PCM to the transmission external connector in any one of the three circuits.

DIAGNOSTIC AIDS
Refer to accompanying chart for various A/B/C range combinations. Check all wiring connectors for proper terminal tension. For current DTC 28, range signal will default to "D4" while A/B/C range values continue to read actual "TR Pressure Switch Output" for each range selection.
Refer to "TR Pressure Switch Assembly Resistance Check" or "Functional Test Procedure" for further information. Pressure Switch Assembly Resistance Check
Testing and Inspection