Operation CHARM: Car repair manuals for everyone.
Manuals through 2025 now available!

Our trusted friends have launched a new website named LEMON, which has newer manuals. It also contains all the CHARM manuals.

LEMON is the spiritual successor to CHARM, I recommend you try it!

Link: lemon-manuals.la or lemon-manuals.org.ua

(Some people have issue connecting. LEMON is investigating. For now, use Firefox or change your DNS server)

Or, hide this message: temporarily or permanently

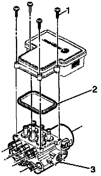
Electronic Brake Control Module: Service and Repair

REMOVAL PROCEDURE

Important: After installation, calibrate the new Electronic Brake Control Module (EBCM) to the tire size that is appropriate to the vehicle.

1. Negative Battery Cable.

CAUTION: Before removing or installing any electrical unit or when a tool or equipment could easily come in contact with "live" exposed electrical terminals, disconnect the negative battery cable to help prevent personal injury and/or damage to the vehicle or components. Unless instructed otherwise, the ignition switch must be in the "OFF" or "LOCK" position.

2. Raise the vehicle.
3. Remove two 13 mm weld/stud nuts fastening the shield and the Brake Pressure Modulator Valve (BPMV) to the Electro-Hydraulic Control Unit (EHCU) mounting bracket.
4. Disconnect three electrical connectors from the EBCM.





5. Remove the four T-25 Torx screws (1) that fasten the EBCM to the BPMV (3).

Important: Do not use a tool to pry the EBCM or the BPMV. Excessive force will damage the EBCM.

6. Fully remove the EBCM from the BPMV (3).
7. Check gasket (2) for wear or damage. Replace if worn or damaged.

INSTALLATION PROCEDURE

Important: Do not reuse the old mounting screws. Always install new mounting screws with the new EBCM.

1. Install the EBCM gasket (2) onto the BPMV (3).

Important: Do not use RTV or any other type of sealant on the EBCM gasket or mating surfaces.

2. Install EBCM on to the BPMV (3).
3. Ensure that the EBCM gasket (2) is aligned correctly.

NOTICE: Always use the correct fastener in the proper location. When you replace a fastener, use ONLY the exact part number for that application. The manufacturer will call out those fasteners that require a replacement after removal. The manufacturer will also call out the fasteners that require thread lockers or thread sealant. UNLESS OTHERWISE SPECIFIED, do not use supplemental coatings (paints, greases, or other corrosion inhibitors) on threaded fasteners or fastener joint interfaces. Generally, such coatings adversely affect the fastener torque and joint clamping force, and may damage the fastener. When you install fasteners, use the correct tightening sequence and specifications. Following these instructions can help you avoid damage to parts and systems.





4. Install the four new T-25 Torx (1) in the EBCM.
^ Tighten the four T-25 Torx screws to 5 Nm (39 inch lbs.) in an X-pattern.

5. Connect three electrical connectors to the EBCM.
6. Install two 13 mm weld/stud nuts fastening the shield and the BPMV to the EHCU mounting bracket.
^ Tighten two 13 mm weld/stud nuts to 25 Nm (18 ft. lbs.).

7. Lower the vehicle.
8. Connect the negative battery cable.
9. Revise the tire calibration using the Scan Tool
10. Return to Diagnostic System Check