Operation CHARM: Car repair manuals for everyone.
Manuals through 2025 now available!

Our trusted friends have launched a new website named LEMON, which has newer manuals. It also contains all the CHARM manuals.

LEMON is the spiritual successor to CHARM, I recommend you try it!

Link: lemon-manuals.la or lemon-manuals.org.ua

(Some people have issue connecting. LEMON is investigating. For now, use Firefox or change your DNS server)

Or, hide this message: temporarily or permanently

Differential Carrier Final Assembly

REMOVAL PROCEDURE





1. Remove the four case bolts.
2. Remove the right carrier case half.
3. Clean the sealing surfaces on the carrier case halves. Remove all the oil and grease. Use a chlorinated solvent, such as carburetor cleaner.

INSTALLATION PROCEDURE

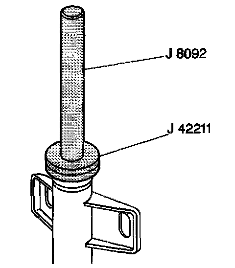
^ Tools Required
- J8092 Driver Handle
- J23911 Seal Installer
- J33791 Bushing Remover and Installer Set
- J42211 Bearing Installer

1. Apply a bead of sealer (GM P/N 1052357 or equivalent) to one carrier half mounting surface. Follow the sealer manufacturer's instructions to apply the sealer.
2. Assemble the carrier halves.
3. Install the carrier halves assembly bolts.
^ Tighten the bolts to 50 Nm (37 ft. lbs.).

NOTICE: Refer to Fastener Notice in Service Precautions.

4. Ensure that the sleeves are positioned properly, as previously marked.





5. Install the bolts and the lock tabs.
^ Tighten the bolts to 8 Nm (71 inch lbs.).

6. Clean all the oil and grease from the left cover and seal assembly, the bolts and the carrier sealing surfaces. Use carburetor cleaner or equivalent.
7. Apply sealer (GM P/N 1052357 or equivalent) to the cover.
8. Install the left cover and seal assembly.
^ Tighten the bolts to 25 Nm (18 ft. lbs.).

9. Install the left output shaft. Tap into place.





10. Install the bearing using the J42211 and the J 8092.





11. Install the seal using the J23911.
12. Install the inner axle shaft housing to the carrier.
13. Install the inner axle shaft housing to carrier bolts.
^ Tighten the bolts to 48 Nm (36 ft. lbs.).

14. Install the axle shaft. Tap into place using a soft-faced hammer.





15. Install the case bushings using the J33791-1, J33791-2, and J33791-3.