Operation CHARM: Car repair manuals for everyone.
Manuals through 2025 now available!

Our trusted friends have launched a new website named LEMON, which has newer manuals. It also contains all the CHARM manuals.

LEMON is the spiritual successor to CHARM, I recommend you try it!

Link: lemon-manuals.la or lemon-manuals.org.ua

(Some people have issue connecting. LEMON is investigating. For now, use Firefox or change your DNS server)

Or, hide this message: temporarily or permanently

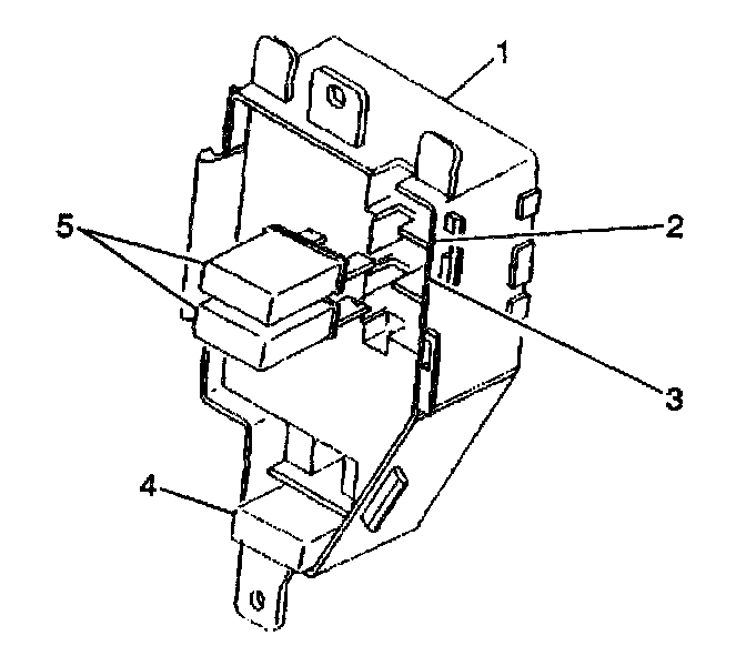
Fuse Block: Service and Repair

REMOVAL PROCEDURE

CAUTION: Refer to Battery Disconnect Caution in Cautions and Notices.





1. Remove the battery ground negative cable.
2. Remove the instrument panel compartment.
3. Remove the instrument panel access hole cover from the instrument panel.
4. Remove the electrical connectors.
5. Remove the fuse block from the tie bar (6).





6. Remove the fuse block (5) from the instrument panel.

INSTALLATION PROCEDURE





1. Install the fuse block (5) to the instrument panel.





2. Install the fuse block to the tie bar (2).
3. Install the electrical connectors.
4. Install the right instrument panel access hole cover to the instrument panel.
5. Install the battery ground negative cable.