Operation CHARM: Car repair manuals for everyone.
Manuals through 2025 now available!

Our trusted friends have launched a new website named LEMON, which has newer manuals. It also contains all the CHARM manuals.

LEMON is the spiritual successor to CHARM, I recommend you try it!

Link: lemon-manuals.la or lemon-manuals.org.ua

(Some people have issue connecting. LEMON is investigating. For now, use Firefox or change your DNS server)

Or, hide this message: temporarily or permanently

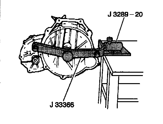
a. Transaxle Case Disassemble

^ Tools Required
- J 3289-20 Base Plate
- J 33366 Holding Fixture
- J 35274 Gear Puller
- J 22888-30 Puller Legs
- J 22888 Puller
- J 24256-A Bearing Race Remover
- J 8092 Driver Handle
- J 33370 Bearing Race Remover
- J 26941 Puller
- J 33367 Puller Bridge
- J 37245 Bushing Remover
- J 36190 Universal Driver Handle
- J 37158 Bearing Remover





1. Remove the clutch release bearing.
^ Attach the transaxle to the J 33366.
^ Attach the J 33366 to the J 3289-20.





2. Remove the rear cover bolts and the rear cover assembly from the transaxle case.





3. Remove the control box bolts and the control box assembly from the transaxle case.
4. Shift the transaxle into gear using a screwdriver.
5. Remove the crimps in the 5th speed drive and driven gear retaining nuts using a hammer and a punch.





6. Remove the retaining nuts from the input and output shaft.
7. Discard the retaining nuts.
8. Shift the transaxle into neutral.
9. Align the detents on the shift rails.





10. Remove the detent spring retaining bolts, the detent springs and the detent balls for the following gears:
^ The 1st/2nd gear (1)
^ The 3rd/4th gear (2)
^ The 5th gear (3)





11. Remove the reverse detent spring retaining bolts, the detent spring and the detent ball.
12. Put the 5th gear synchronizer in neutral.
13. Remove the 5th gear shift fork roll pin.
14. Discard the roll pin.
15. Remove the following 5th gear components from the output shaft as an assembly:
^ The synchronizer hub
^ The sleeve
^ The roller bearing
^ The shift fork and gear





16. Remove the 5th speed gear from the input shaft using the J 35950 and the J 35274.





17. Remove the screws with Torx(tm) (No. 45) from the bearing retainer.
18. Remove the bearing retainer and the snap ring from the output shaft.
19. Remove the shim from the output shaft.





20. Remove the reverse idler shaft bolt at the transaxle case.





21. Remove the following items from the output shaft using the J 22888 and the J 22888-30.
^ The collar
^ The thrust washer

22. Remove the snap ring from the input bearing groove.
23. Remove the transaxle case bolts.
24. Separate the transaxle case from the clutch housing.
25. Remove the backup lamp switch.





26. Remove the reverse shift shaft snap ring.
27. Pull up on the shaft until the interlock pin aligns with the reverse shift shaft detent (approximately 1/4-1/2 inch).
28. Remove the 5th shift shaft (1).
29. Remove the reverse shift shaft (2).





30. Remove the reverse idle gear.
31. Remove the reverse idle shaft indexing pin.





32. Remove the roll pin (1) from the 1st/2nd shift fork using a punch and hammer.
33. Discard the roll pin.
34. Slide the 1st/2nd shaft upward and clear of the housing.
35. Remove the fork and the shaft from the case.





36. Remove the clevis pin.
37. Remove the reverse shift lever pin.
38. Remove the reverse shift lever.
39. Remove the input and output shafts with the 3rd/4th shift fork and shaft as an assembly.
40. Remove the differential case assembly from the clutch housing.
41. Remove the reverse shift shaft from the clutch housing.
42. Remove the reverse shift bracket together with the four bolts.
43. Remove the three 10 mm interlock pins.





44. Remove the rear bearing outer races from the transaxle case. Use the J 33370 and the J 8092 for the output shaft race.





45. Remove the outer races for the output shaft front. Use the J 26941 and the J 2619-01.





46. Remove the differential side bearings. Use the J 26941 and the J 2619-0 1.
47. Remove the input shaft front bearing from the housing. Use the J 41678 and the J 8092.
48. Remove the input shaft seal from the housing.