Operation CHARM: Car repair manuals for everyone.
Manuals through 2025 now available!

Our trusted friends have launched a new website named LEMON, which has newer manuals. It also contains all the CHARM manuals.

LEMON is the spiritual successor to CHARM, I recommend you try it!

Link: lemon-manuals.la or lemon-manuals.org.ua

(Some people have issue connecting. LEMON is investigating. For now, use Firefox or change your DNS server)

Or, hide this message: temporarily or permanently

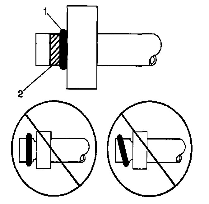
O-Ring Replacement

Removal Procedure

1. Recover the refrigerant.
2. Disconnect the negative battery cable.





3. For compression-style fittings; use a back-up wrench on the A/C refrigerant component (smaller size) fitting (2), then loosen the A/C refrigerant hose (larger size) fitting (1).
4. For banjo-style fittings; remove the bolt retaining the A/C refrigerant hose to the A/C refrigerant component.

Important: Cap or tape the open A/C refrigerant hose and the A/C refrigerant component immediately.

5. Disconnect the A/C refrigerant hose from the A/C refrigerant component, discard the O-ring seal and cap or tape the A/C refrigerant hose and the A/C refrigerant component to prevent contamination.

Installation Procedure

1. Remove the cap or tape from the A/C refrigerant hose and the A/C refrigerant component.
2. Using a lint-free clean, dry cloth, carefully clean the sealing surfaces of the A/C refrigerant hose and the A/C refrigerant component.





3. Lightly coat the new O-ring seal (1) with mineral base 525 viscosity refrigerant oil.

Important: DO NOT allow any of the mineral base 525 viscosity refrigerant oil on the new O-ring seal to enter the refrigerant system.

4. For compression-style fittings; carefully slide the new O-ring seal (1) onto the A/C refrigerant hose until seated.





5. For banjo-style fittings; carefully slide the new O-ring seal (1) onto the A/C refrigerant hose until seated.
Leave a light coating of the refrigerant oil to remain on the A/C refrigerant hose in the area indicated (2) ONLY.





6. Install the A/C refrigerant hose to the A/C refrigerant component.
7. For compression-style fittings; use a back-i wrench on the A/C refrigerant component (smaller size) fitting (2), then tighten the A/ refrigerant hose (larger size) fitting (1) to specification.
8. For banjo-style fittings; install the bolt retaining the A/C refrigerant hose to the A/C refrigerant component, then tighten to specification.
9. Connect the negative battery cable.

Tighten
Tighten the negative battery cable bolt to 15 N.m (11 lb ft).

11. Evacuate and charge the refrigerant system.
12. Check the A/C refrigerant hose(s) to the A/C component(s) joints for leaks.