Operation CHARM: Car repair manuals for everyone.
Manuals through 2025 now available!

Our trusted friends have launched a new website named LEMON, which has newer manuals. It also contains all the CHARM manuals.

LEMON is the spiritual successor to CHARM, I recommend you try it!

Link: lemon-manuals.la or lemon-manuals.org.ua

(Some people have issue connecting. LEMON is investigating. For now, use Firefox or change your DNS server)

Or, hide this message: temporarily or permanently

Expansion Block/Orifice Tube: Service and Repair

Removal Procedure

1. Recover the refrigerant.
2. Disconnect the negative battery cable.





3. Remove the evaporator tube - front to evaporator tube - rear retaining bolt.

Important: Cap or tape the open evaporator tube - front immediately.

4. Disconnect the evaporator tube - front from the evaporator tube - rear, discard the O-ring seal and cap or tape the evaporator tube - front to prevent contamination.

Important: Cap or tape the open evaporator tube - rear immediately.





5. Using needle nose plyers, CAREFULLY grasp the edge of the expansion (orifice) tube without touching the filter screen and pull to remove the tube; cap or tape the evaporator tube - rear to prevent contamination.





6. Inspect the expansion (orifice) tube for the following conditions and clean or replace with a new tube as indicated:
- Broken plastic frame; replace tube
- Filter screen (1,2) torn, damaged or plugged with fine gritty material; replace tube
- Brass orifice tube (3) damaged or plugged; replace tube
- Filter screen (1) coated with metal chips, flakes or slivers; coating may be removed with low pressure shop air and reused if cleaned satisfactorily
If reusing the tube, install a new O-ring (4)

Installation Procedure

1.Remove the cap or tape from the evaporator tube - rear.





2. Using needle nose plyers, CAREFULLY grasp the edge of the expansion (orifice) tube (long filter screen inlet side of tube) without touching the filter screen and insert the tube (short filter screen outlet side first) fully into the evaporator tube - rear.





3. Remove the cap or tape from the evaporator tube - front
4. Using a lint-free clean, dry cloth, carefully clean the sealing surfaces of the evaporator tube - front and the evaporator tube - rear.
5. Lightly coat the O-ring seal (1) with mineral base 525 viscosity refrigerant oil.

Important: DO NOT allow any of the mineral base 525 viscosity refrigerant oil on the O-ring seal to enter the refrigerant system.

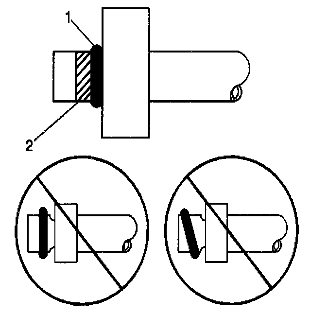
6. Carefully slide the new O-ring seal (1) onto the evaporator tube - front until seated.
Leave a light coating of the refrigerant oil to remain on the evaporator tube - front in the area indicated (2) ONLY.





7. Install the evaporator tube - front to the evaporator tube - rear.
8. Install the evaporator tube - front to evaporator tube - rear retaining bolt.

Tighten
Tighten the evaporator tube - front to evaporator tube - rear retaining bolt to 27 N.m (20 lb ft).

9. Connect the negative battery cable.

Tighten
Tighten the negative battery cable bolt to 15 N.m (11 lb ft).

10. Program the transmitters.
11. Evacuate and charge the refrigerant system.
12. Check the evaporator tube - front to evaporator tube - rear joint for leaks.