Operation CHARM: Car repair manuals for everyone.
Manuals through 2025 now available!

Our trusted friends have launched a new website named LEMON, which has newer manuals. It also contains all the CHARM manuals.

LEMON is the spiritual successor to CHARM, I recommend you try it!

Link: lemon-manuals.la or lemon-manuals.org.ua

(Some people have issue connecting. LEMON is investigating. For now, use Firefox or change your DNS server)

Or, hide this message: temporarily or permanently

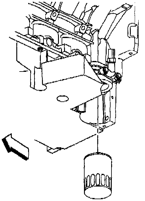
Engine Oil: Service and Repair

REMOVAL PROCEDURE

NOTICE: To prevent leakage of oil filters, it is very important that you closely follow the installation instructions listed below or engine damage may result.

IMPORTANT: Be sure the vehicle is level during this entire procedure.






1. Raise and suitably support the vehicle.

IMPORTANT: In order to completely drain the oil from the oil pan internal baffling, the bottom of the oil pan must be level during the oil drain procedure. Allow a MINIMUM of 7 MINUTES for the engine oil to fully drain, once the engine oil drain plug and the engine oil filter are removed.

2. Remove the engine oil drain plug and allow the oil to drain.





3. Remove the engine oil filter by turning the oil filter counterclockwise and allow any remaining oil to drain.


INSTALLATION PROCEDURE





1. Clean the gasket sealing area on the engine oil filter mounting surface with a clean, dry cloth.
2. Lightly oil the replacement engine oil filter gasket, use CLEAN oil.

IMPORTANT: Use a cap-type wrench, AC Delco OF17W or equivalent, or a strap-type wrench with swivel handle to insure proper installation.

3. Install the filter by turning the engine oil filter clockwise.
^ Tighten the engine oil filter 30 Nm (22 ft. lbs.).






4. Wipe the engine oil drain plug with a clean, dry cloth.

5. Install the engine oil drain plug.
^ Tighten the engine oil drain plug to 25 Nm (18 ft. lbs.).

IMPORTANT: Allow a MINIMUM of 3 MINUTES for the NEW engine oil to fully fill the engine oil pan.

6. Fill the engine with the proper type and amount of NEW engine oil. DO NOT use any engine oil additives in Corvette engines.
7. Run the engine for 3 minutes and thoroughly inspect the oil filter and the oil pan drain plug areas for leaks.
8. Allow the engine to cool for a minimum of 3 minutes.
9. Check the engine oil level.
10. Top-off the engine oil to the full mark on the oil level indicator (dipstick).
11. Lower the vehicle.