Operation CHARM: Car repair manuals for everyone.
Manuals through 2025 now available!

Our trusted friends have launched a new website named LEMON, which has newer manuals. It also contains all the CHARM manuals.

LEMON is the spiritual successor to CHARM, I recommend you try it!

Link: lemon-manuals.la or lemon-manuals.org.ua

(Some people have issue connecting. LEMON is investigating. For now, use Firefox or change your DNS server)

Or, hide this message: temporarily or permanently

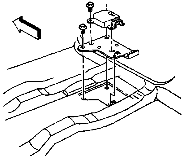
First Repair


IMPORTANT: If the SDM mounting holes or fasteners are damaged to the extent that the module can no longer be properly mounted, use the following repair. Torque the replacement fastener with a hand tool in order to prevent stripping the replacement fastener.

Description:






^ First Repair

1. Remove the stripped fastener and discard it.

NOTICE: Refer to Fastener Notice in Vehicle Damage Warnings.

2. Install the SDM with larger fastener GM P/N 10267482.
3. Tighten
Tighten fastener to 5 N.m (44 lb in).