Operation CHARM: Car repair manuals for everyone.
Manuals through 2025 now available!

Our trusted friends have launched a new website named LEMON, which has newer manuals. It also contains all the CHARM manuals.

LEMON is the spiritual successor to CHARM, I recommend you try it!

Link: lemon-manuals.la or lemon-manuals.org.ua

(Some people have issue connecting. LEMON is investigating. For now, use Firefox or change your DNS server)

Or, hide this message: temporarily or permanently

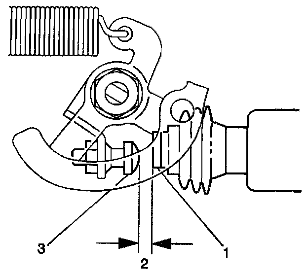
TP Adjustment Using A Digital Multimeter

1. Remove the air cleaner (if necessary). Refer to Air Cleaner Assembly Replacement.




2. Insert a 3.5 mm (0.14 in.) feeler gage (2) between the throttle stop screw (1) and the throttle lever (3).




3. Inspect the idle speed control (ISC) motor plunger. If the ISC motor plunger (1) is contacting the throttle lever screw (3), then the engine must be brought to operating temperature. There must be no contact (2) between the ISC motor plunger and the throttle lever screw.
4. Back probe the throttle position (TP) sensor signal circuit at the powertrain control module electrical connector to ground.
5. Turn ON the ignition.
6. Observe the TP sensor voltage on the DMM. The TP sensor voltage reading should be 0.98 to 1.02 volts.




7. If the TP sensor voltage IS NOT 0.98 to 1.02 volts, loosen the TP sensor screws (1) and turn the TP sensor until the voltage reading is 0.98 to 1.02 volts.

Notice: Refer to Fastener Notice in Cautions and Notices.

8. Tighten the TP sensor screws (1).

Tighten
Tighten the TP sensor screws to 2.0 N.m (18 lb in).

9. If a TP sensor voltage reading of 0.98 to 1.02 volts cannot be obtained, replace the TP sensor. Refer to TP Sensor Replacement.
10. Install the air cleaner. Refer to Air Cleaner Assembly Replacement.