Operation CHARM: Car repair manuals for everyone.
Manuals through 2025 now available!

Our trusted friends have launched a new website named LEMON, which has newer manuals. It also contains all the CHARM manuals.

LEMON is the spiritual successor to CHARM, I recommend you try it!

Link: lemon-manuals.la or lemon-manuals.org.ua

(Some people have issue connecting. LEMON is investigating. For now, use Firefox or change your DNS server)

Or, hide this message: temporarily or permanently

Compressor Mounting Bracket

Removal Procedure

1. If the vehicle is equipped with power steering.





2. Disconnect the compressor clutch electrical connector (6).
3. Raise and suitably support the vehicle.
4. Remove the engine splash shield.





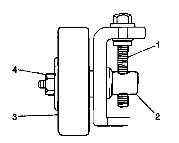
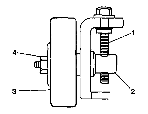
5. Loosen the idler pulley locknut (4).
6. Loosen the idler pulley adjusting bolt (1).





7. Remove the compressor drive belt (2) from the clutch pulley.





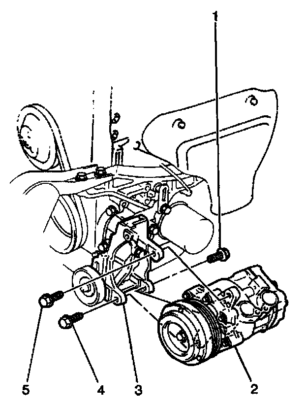
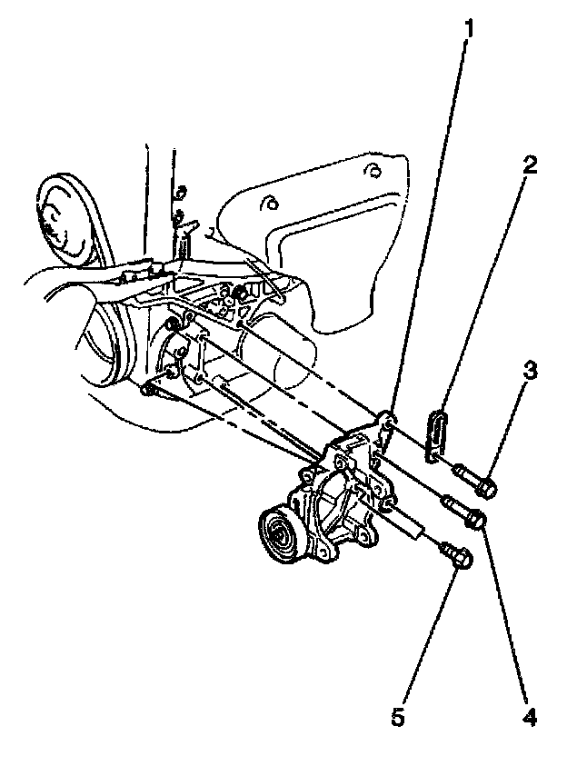
8. Remove the 3 bolts (1,4,5) from the compressor.
9. Set the compressor aside.





10. Remove the 4 bolts (3,4,5) and the compressor mounting bracket from the vehicle.

Installation Procedure

1. Install the compressor mounting bracket to the engine block.

Important: The proper torque sequence is essential in order to prevent damage to the engine block or the compressor bracket.





2. Secure the compressor bracket with 4 bolts (3,4,5). Tighten the bolts in the following sequence:
2.1. Bolt (4)
2.2. Bolt (5)
2.3. Bolt (3)
3. Tighten the bolts.

Tighten
Tighten the compressor bracket bolts to 34.3-39.2 N.m (25.2-28.8 lb ft).

Important: The proper torque sequence is essential in order to prevent damage to the compressor or the compressor bracket.





4. Install the compressor to the compressor bracket.
5. Secure the compressor with 3 bolts (1,4,5). Tighten the bolts in the following sequence:
5.1. Bolt (4)
5.2. Bolt (5)
5.3. Bolt (1)
6. Tighten the bolts.

Tighten
Tighten the compressor bolts to 22.5-27.4 N.m (16.5-20.1 lb ft).





7. Install the compressor drive belt (2).
8. Ensure that the belt is properly aligned on the compressor, power steering (if equipped) and crankshaft pulleys.





9. Adjust the drive belt tension.
9.1. Turn the idler pulley adjusting bolt (1) to obtain 7-9 mm (0.28-0.35 in) belt deflection at 10 kg (22 lbs) of force (thumb pressure).
9.2. Tighten the idler pulley locknut (4).

Tighten
Tighten the idler pulley locknut to 44.1-49 N.m (32.4-36 lb ft).





10. Connect the compressor clutch electrical connector (6).
11. Secure the electrical connector wire with the clamps (5).
12. Install the engine splash shield.
13. Lower the vehicle.
14. Install the power steering pump and bracket.