Operation CHARM: Car repair manuals for everyone.
Manuals through 2025 now available!

Our trusted friends have launched a new website named LEMON, which has newer manuals. It also contains all the CHARM manuals.

LEMON is the spiritual successor to CHARM, I recommend you try it!

Link: lemon-manuals.la or lemon-manuals.org.ua

(Some people have issue connecting. LEMON is investigating. For now, use Firefox or change your DNS server)

Or, hide this message: temporarily or permanently

Compressor Replacement

Removal Procedure

1. Discharge and recover the refrigerant.





2. Disconnect the compressor clutch electrical connector (6).
3. Raise and suitably support the vehicle.
4. Remove the engine splash shield.





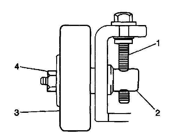
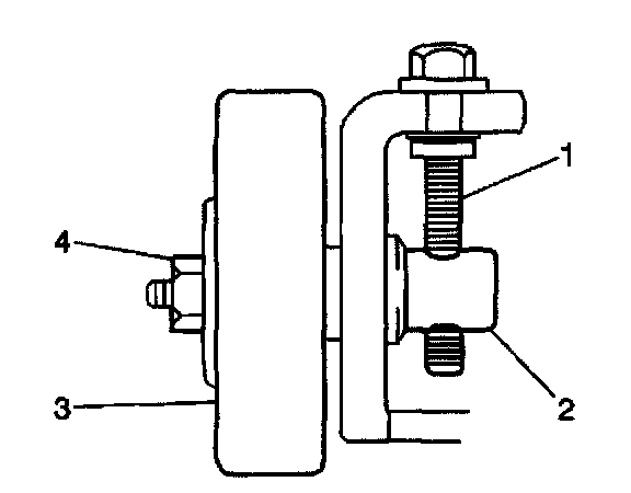
5. Loosen the idler pulley locknut (4).
6. Loosen the idler pulley adjusting bolt (1).





7. Remove the compressor drive belt (2) from the clutch pulley.





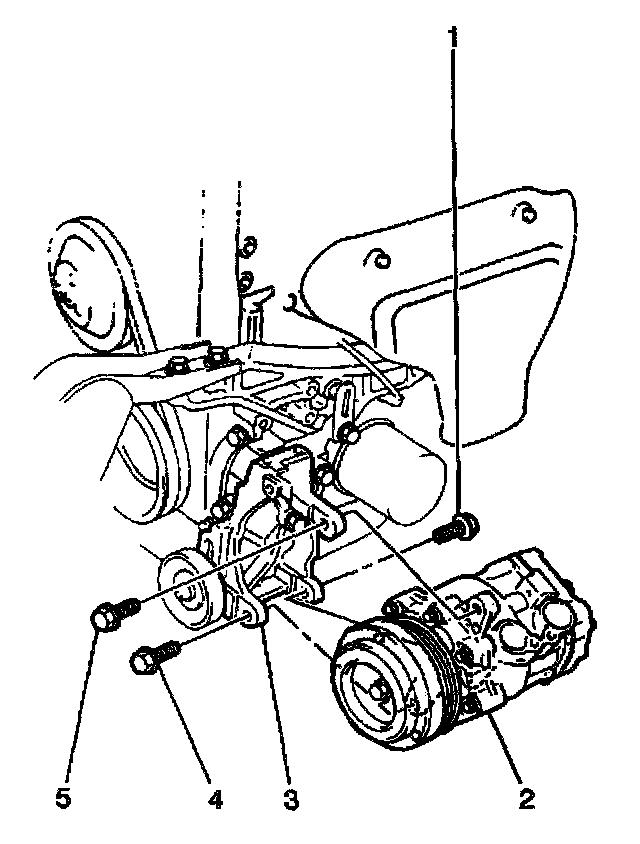
8. Remove 1 bolt (3) and the discharge hose (1) from the compressor.
9. Remove 1 bolt (3) and the suction hose (4) from the compressor.
10. Discard the O-rings.





11. Remove the 3 bolts (14,5) and the compressor from the vehicle.
12. Cap all of the refrigerant line openings in order to keep dirt and moisture out of the system.

Installation Procedure

Important: When installing a new compressor, add 90 cc (3.0 fl oz) of refrigerant oil to the refrigeration system.

Important: The proper torque sequence is essential in order to prevent damage to the compressor or the compressor bracket.





1. Install the compressor to the compressor bracket. Secure the compressor with 3 bolts (1,4,5). Tighten the bolts in the following sequence:
1.1. Bolt(4)
1.2. Bolt(S)
1.3. Bolt(1)
2. Tighten the bolts

Tighten
Tighten the compressor bolts to 22.5-27.4 N.m (16.5-20.1 lb ft).





3. Install the compressor drive belt (2).
4. Ensure that the belt is properly aligned on the compressor, power steering (if equipped) and crankshaft pulleys.





5. Adjust the drive belt tension.
5.1. Turn the idler pulley adjusting bolt (1) to obtain 7-9 mm (0.28-0.35 in) belt deflection at 10 kg (22 lbs) of force (thumb pressure).
5.2. Tighten the idler pulley locknut (4).

Tighten
Tighten the idler pulley locknut to 44.1-49 N.m (32.4-36 lb ft).





6. Connect the compressor clutch electrical connector (6).
7. Secure the electrical connector wire with the clamps (5).





8. Coat the new discharge and suction hose O-rings with 525 viscosity mineral oil.
9. Install the discharge and suction hoses (1,4) to the compressor.

Tighten
Tighten the compressor discharge and suction hose bolts to 9.8 N.m (86.74 lb ft).

10. Install the engine splash shield.
11. Lower the vehicle.
12. Evacuate and recharge the air conditioning (A/C) system.
13. Operate the A/C system and inspect for refrigerant leaks.