Operation CHARM: Car repair manuals for everyone.
Manuals through 2025 now available!

Our trusted friends have launched a new website named LEMON, which has newer manuals. It also contains all the CHARM manuals.

LEMON is the spiritual successor to CHARM, I recommend you try it!

Link: lemon-manuals.la or lemon-manuals.org.ua

(Some people have issue connecting. LEMON is investigating. For now, use Firefox or change your DNS server)

Or, hide this message: temporarily or permanently

Fuel Filter: Service and Repair

The fuel filter is located in the fuel tank and is an integral part of the fuel sender assembly. The fuel filter does not require replacement at regular intervals. Refer to the vehicle maintenance schedule in General Information for recommended service. The fuel sender assembly must be removed from the fuel tank and disassembled in order to replace the fuel sender subassembly that contains the fuel filter.

Fuel Tank Draining Procedure

Caution: Refer to Gasoline/Gasoline Vapors Caution In Cautions and Notices.

Caution: Refer to Safety Goggles and Fuel Caution in Cautions and Notices.

Caution: Fuel Vapors can collect while servicing fuel system parts in enclosed areas such as a trunk. To reduce the risk of fire and increased exposure to vapors:
^ Use forced air ventilation such as a fan set outside of the trunk.
^ Plug or cap any fuel system openings in order to reduce fuel vapor formation.
^ Clean up any spilled fuel Immediately.
^ Avoid sparks and any source of ignition.
^ Use signs to alert others in the work area that fuel system work Is In process.

Notice
: Do not force a hose or the siphon of a hand operated pump into the fuel tank. Forcing the hose or siphon into the fuel tank can damage the check valve located in the fuel filler pipe.





1. Check the level of the fuel in the fuel tank. If the fuel level is less than 3/4 of a tank go to step 7.
2. Remove the fuel filler cap.
3. Insert a flexible siphon hose attached to a hand operated pump device into the fuel filler pipe.
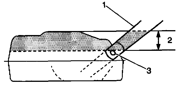
4. Gently feed the siphon hose down into the fuel filler pipe (1) until it reaches the ORVR check valve (3). The check valve is located in the neck of the fuel tank and can be reached with approximately 91 cm (36 in) of hose.
5. Drain any fuel (2) that is present at the ORVR check valve (3) with the hand operated pump device.
6. Remove the siphon hose from the fuel filler pipe.
7. Raise and suitably support the vehicle.





8. Disconnect the fuel filler hose (2) from the fuel tank (3).
9. Remove the ORVR check valve (1) from the neck of the fuel tank. Use a shop towel to catch any fuel that may spill out.





10. Insert the siphon hose (2) attached to a hand operated pump device into the fuel tank through the filler neck (1) opening.
11. Drain the remaining volume of fuel with the hand operated pump device until a small volume of fuel (3) remains.





12. Install the ORVR check valve (1) back into the neck of the fuel tank.