Operation CHARM: Car repair manuals for everyone.
Manuals through 2025 now available!

Our trusted friends have launched a new website named LEMON, which has newer manuals. It also contains all the CHARM manuals.

LEMON is the spiritual successor to CHARM, I recommend you try it!

Link: lemon-manuals.la or lemon-manuals.org.ua

(Some people have issue connecting. LEMON is investigating. For now, use Firefox or change your DNS server)

Or, hide this message: temporarily or permanently

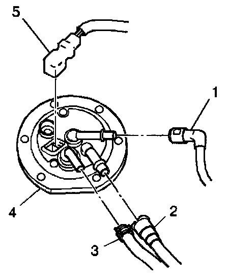
Fuel Sender Assembly Replacement

Removal Procedure

Notice: Do not attempt to disassemble the fuel sender assembly. Damage may occur to the sender assembly and the component parts. A re-assembled fuel sender assembly will not perform properly after installation to the vehicle.





1. Remove the fuel tank from the vehicle. Refer to Fuel Tank Replacement.
2. Disconnect the fuel sender assembly electrical connector (5) from the fuel sender assembly (4).
3. Remove the clamp and the fuel vapor hose (3) from fuel vapor pipe on the fuel sender assembly (4).
4. Disconnect the quick connect fuel return line (1) from the fuel sender assembly (4). Refer to Quick Connect Fitting(s) Service (Plastic Collar).
5. Disconnect the quick connect fuel feed line (2) from the fuel sender assembly (4). Refer to Quick Connect Fitting(s) Service (Plastic Collar).




6. Remove the six screws attaching the fuel sender assembly to the fuel tank.
7. Remove the fuel sender assembly from the fuel tank.

Installation Procedure





1. Install the fuel sender assembly to the fuel tank with a new gasket.

Notice: Refer to Fastener Notice in Cautions and Notices.

2. Install the six bolts securing the fuel sender assembly to the fuel tank.

Tighten
Tighten the six fuel sender assembly bolts to 10 N.m (89 lb in).






3. Connect the fuel vapor hose (3) to the fuel vapor pipe on the fuel sender assembly (4) and secure with the clamp.
4. Connect the quick connect fuel return line (1) to the fuel return pipe on the fuel sender assembly (4). Refer to Quick Connect Fitting(s) Service (Plastic Collar).
5. Connect the quick connect fuel feed line (2) to the fuel feed pipe on the fuel sender assembly (4). Refer to Quick Connect Fitting(s) Service (Plastic Collar).
6. Connect the fuel sender assembly electrical connector (5) to the fuel sender assembly (4).
7. Install the fuel tank to the vehicle.