Operation CHARM: Car repair manuals for everyone.
Manuals through 2025 now available!

Our trusted friends have launched a new website named LEMON, which has newer manuals. It also contains all the CHARM manuals.

LEMON is the spiritual successor to CHARM, I recommend you try it!

Link: lemon-manuals.la or lemon-manuals.org.ua

(Some people have issue connecting. LEMON is investigating. For now, use Firefox or change your DNS server)

Or, hide this message: temporarily or permanently

Fuel Sender Assembly Service

Disassembly Procedure

Caution: Refer to Gasoline/Gasoline Vapors Caution in Cautions and Notices.






1. Remove the fuel sender assembly from the fuel tank.
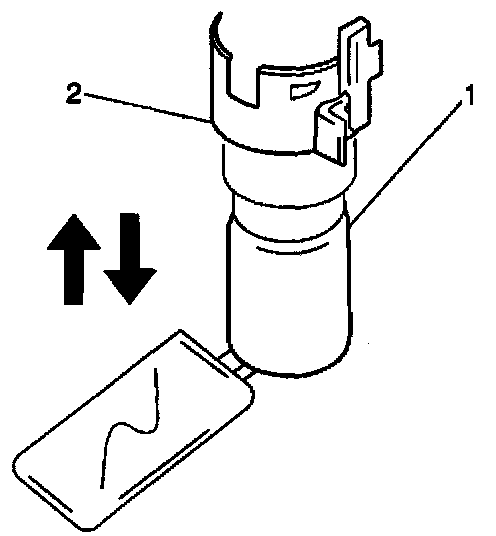
2. Disconnect the fuel eve sensor (gauge sender) electrical connector (1) from the fuel sender assembly.

Important: Do not apply pressure to the fuel level sensor resistor plate or float arm. Pressure can deform these pans and cause them to operate incorrectly.





3. Depress the retaining tab (1) and slide the fuel level sensor assembly down in order to remove the sensor from the fuel sender assembly.





4. Remove the lower assembly end cap (1) by releasing the three snap-fit catches with a screwdriver (2).





5. Remove the fuel pump cushion (1).





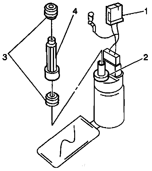
6. Disconnect the two fuel pump electrical connections (1) from the fuel sender subassembly.





7. Pull the fuel pump (1) firmly down out of the fuel sender assembly housing (2).
8. Release the three snap-fit catches securing the housing (2) to the fuel sender subassembly and remove the housing.

Important: When removing the fuel tube and grommets be careful not to mar the sealing surfaces. It the sealing surfaces are marred or damaged a fuel leak may occur.






9. Remove the fuel tube (4) and the two grommets (3) from the fuel sender subassembly. The fuel sender subassembly contains the fuel filter and must be serviced as an assembly.

Assembly Procedure

Important
: Use of new grommets, cushions, and spacers is recommended in order to prevent failure and fuel pressure loss.






1. Install the spacer (2) onto the fuel pump outlet pipe.
2. Lubricate the grommets (3) with engine oil and install the two grommets (3) and the fuel tube (4) into the fuel sender subassembly.





3. Install the housing (2) to the fuel sender subassembly, being sure to interlock the three snap-fit catches.
4. Install the fuel pump (1) up through the housing (2) and into the fuel sender subassembly, aligning the fuel pump outlet pipe with the fuel tube in the subassembly.





5. Install the fuel pump cushion (1) between the fuel pump and the lower assembly end cap.
6. Attach the lower assembly end cap to the housing, being sure to interlock the three snap-fit catches.





7. Connect the two fuel pump electrical connectors (1) to the fuel sender assembly.





8. Insert the locating tab (1) on the fuel level sensor assembly into the channel (2) on the fuel sender assembly and slide upward until locked in place.





9. Connect the fuel level sensor electrical connector (1) to the fuel sender assembly.
10. Install the fuel sender assembly into the fuel tank.