Operation CHARM: Car repair manuals for everyone.
Manuals through 2025 now available!

Our trusted friends have launched a new website named LEMON, which has newer manuals. It also contains all the CHARM manuals.

LEMON is the spiritual successor to CHARM, I recommend you try it!

Link: lemon-manuals.la or lemon-manuals.org.ua

(Some people have issue connecting. LEMON is investigating. For now, use Firefox or change your DNS server)

Or, hide this message: temporarily or permanently

Installation Procedure




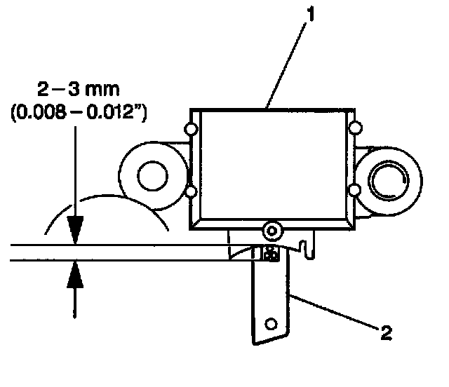
1. Connect the brushes (2) to the regulator (1).
2. Install the brush springs and the brushes to the regulator so that the label on each brush is 2 - 3 mm (0.008 - 0.012 in) from the rectifier.




3. Solder the brush lead wires (2) to the regulator terminals (3).
4. Install the brush lead wire cover (4).
5. Connect the brush holder to the regulator (1).
6. Install the regulator and the brush holder to the rear housing.




7. Remove the hole plug from the rear housing.
8. Support the brushes with a wire inserted through the hole in the rear housing (2).




9. Install the rectifier to the rear housing (1).
10. Install the stator (3) to the rear housing. Secure the stator with the four retaining screws (2).

NOTE: Refer to Fastener Notice in Cautions and Notices.




11. Install the battery terminal retaining nut (2) to the rear housing.

Tighten
Tighten the battery terminal retaining nut to 10 N.m (89 lb in).

12. Install the rear bearing to the rotor.




13. Install the front bearing and the front bearing retainer to the front housing. Secure with 4 screws (1,3).




14. Install the rotor with the spacer to the front housing.

NOTE: To prevent damage to the rotor, place clean shop cloths between the rotor and the vise.

15. Place the front housing and the rotor into a vise, facing the drive pulley end up.
16. Install the drive pulley and the drive pulley washer to the rotor. Secure the pulley with the retaining nut.

Tighten
Tighten the drive pulley retaining nut to 65 N.m (48 lb ft).

17. Remove the front housing and the rotor from the vise.
18. Using a heat gun, heat the rear housing to 50 - 60° C (122 - 140° F)
19. Install the front housing (4), the drive pulley, and the rotor to the stator coil (5) and the rear housing (6). Align the generator housing match marks. Secure with the 4 generator housing bolts.

Tighten
Tighten the generator housing bolts to 30 N.m (22 lb ft).

20. Remove the brush support wire and install the hole plug into the rear housing.
21. Make sure that the rotor rotates smoothly by turning the drive pulley.
22. Install the generator to the vehicle.