Operation CHARM: Car repair manuals for everyone.
Manuals through 2025 now available!

Our trusted friends have launched a new website named LEMON, which has newer manuals. It also contains all the CHARM manuals.

LEMON is the spiritual successor to CHARM, I recommend you try it!

Link: lemon-manuals.la or lemon-manuals.org.ua

(Some people have issue connecting. LEMON is investigating. For now, use Firefox or change your DNS server)

Or, hide this message: temporarily or permanently

Measuring Procedure

TOOLS REQUIRED
^ J 34029-A Digital Voltmeter - DVM
^ J26900 - 5 Vernier Caliper




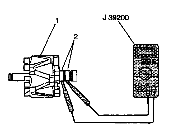
1. Measure the resistance between the rotor slip rings (2) using J 34029-A. If the resistance is greater than 3.5 ohms, replace the rotor (1).




2. Measure the resistance between the rotor slip ring (2) and the rotor (1) using J 34029-A. If the resistance is less than 5 ohms, replace the rotor.




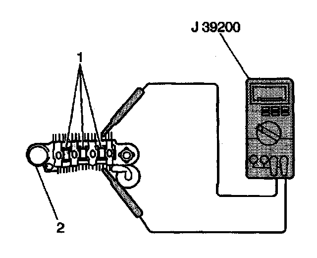
3. Measure the resistance between all stator leads (1) using J 34029-A. If the resistance is greater than 5 ohms for any measurement, replace the stator (2).




4. Measure the resistance between all stator leads (1) and the stator core using J 34029-A. If the resistance is less than 5 ohms, replace the stator (2).




5. Measure the length of each brush (3) using the J26900 - 5. If the length is less than the minimum, replace the brush.
Standard Brush Length 16 mm (0.63 in)
Minimum Brush Length 2 mm (0.08 in)




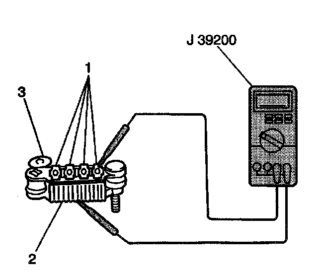
6. Measure the resistance between the rectifier upper body (2) and each diode lead (1) using J 34029-A. Reverse the probes and measure the resistance again. The resistance should be less than 5 ohms in one measurement and greater than 5 ohms in the other measurement. If not, replace the rectifier (3).




7. Measure the resistance between the rectifier lower body (2) and each diode lead (1) using the J 34029-A. Reverse the probes and measure the resistance again. The resistance should be less than 5 ohms in one measurement and greater than 5 ohms in the other measurement. If not, replace the rectifier (3).




8. Measure the resistance between both leads of each rectifier diode trio (1) using the J 34029-A. Reverse the probes and measure the resistance again. The resistance should be less than 5 ohms in one measurement and greater than 5 ohms in the other measurement. If not, replace the rectifier (2).




9. Measure the condenser (2) capacity using a digital capacitor meter. If the condenser capacity is not 0.5 microfarads, replace the rectifier (1).
10. Inspect the rotor slip rings for roughness or scoring. If the slip rings are rough or scored, replace the rotor.