Operation CHARM: Car repair manuals for everyone.
Manuals through 2025 now available!

Our trusted friends have launched a new website named LEMON, which has newer manuals. It also contains all the CHARM manuals.

LEMON is the spiritual successor to CHARM, I recommend you try it!

Link: lemon-manuals.la or lemon-manuals.org.ua

(Some people have issue connecting. LEMON is investigating. For now, use Firefox or change your DNS server)

Or, hide this message: temporarily or permanently

Manifold Pressure/Vacuum Sensor: Description and Operation

Manifold Absolute Pressure (MAP) Sensor:




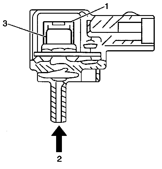
Manifold Absolute Pressure (MAP) Sensor
The MAP sensor (1) measures the change in the intake manifold pressure (vacuum) (2). The powertrain control module (PCM) applies 5 volts to the MAP sensor. The MAP sensor consists of a semi-conductor type pressure sensing element (3). The pressure sensing element converts a change in pressure into an electrical signal. The MAP sensor also contains electronic circuitry that amplifies and corrects the electrical signal. The PCM monitors the change in manifold pressure that results from the changes in RPM and engine load. A low MAP sensor voltage reading at the PCM indicates low manifold pressure. A high MAP sensor voltage reading at the PCM indicates high manifold pressure.