Operation CHARM: Car repair manuals for everyone.
Manuals through 2025 now available!

Our trusted friends have launched a new website named LEMON, which has newer manuals. It also contains all the CHARM manuals.

LEMON is the spiritual successor to CHARM, I recommend you try it!

Link: lemon-manuals.la or lemon-manuals.org.ua

(Some people have issue connecting. LEMON is investigating. For now, use Firefox or change your DNS server)

Or, hide this message: temporarily or permanently

Transfer Case Replacement

REMOVAL PROCEDURE





1. Disconnect the negative (-) battery cable.

CAUTION: Refer to Battery Disconnect Caution in Cautions and Notices.

2. Remove two screws, two plastic retainers and the rear console box from the floor.
3. Remove two screws, two plastic retainers and the front console box from the floor.
4. Remove one screw and the gearshift control lever knob (1) from the gearshift control lever (if equipped).





5. Remove eight screws, the boot cover and the gearshift control lever boot (1) from the gearshift control lever (2) (if equipped).
6. Remove one clamp and the gearshift lever case boot from the gearshift lever case (if equipped).





7. Remove the gearshift control lever (1) from the gearshift lever case (2) by pushing down on the gearshift control lever pivot (3) and turning counterclockwise 90 degrees (1/4 turn) and lifting up (if equipped).





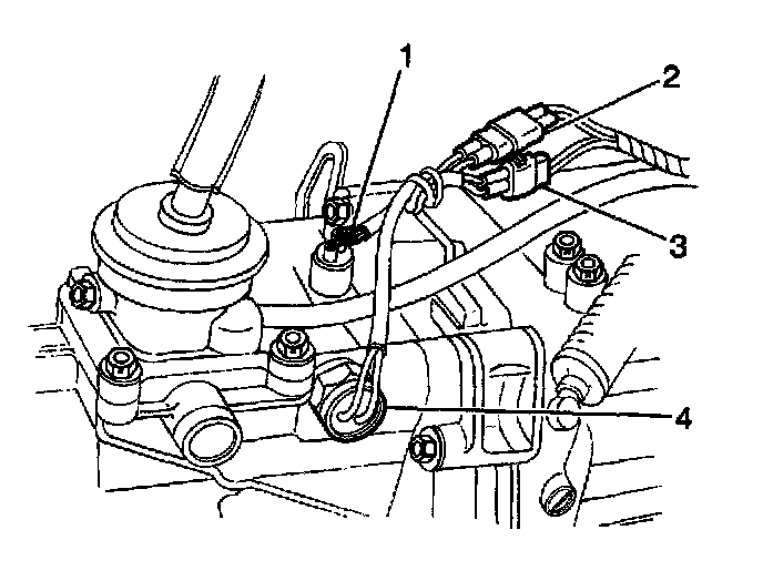
8. Remove the four-wheel drive switch electrical connector (1) from the four wheel drive switch (2) (if equipped).





9. Remove the four-wheel drive low switch electrical connector (3) from the four-wheel drive low switch (4) (if equipped).
10. Remove four bolts from the fan shroud at the radiator.
11. Raise the vehicle. Support the vehicle. Refer to Vehicle Lifting Points.





12. Remove two bolts (1) and separate the transfer case skid plate from the transfer case crossmember.
13. Place a drain pan or suitable container underneath the transfer case.





14. Remove the transfer case oil level/filler plug (1) from the transfer case.
15. Remove the transfer case drain plug (2) from the transfer case and drain the transfer case oil.
16. Place an index mark on the front propeller shaft pinion flange yoke and the front deferential pinion flange (if equipped).

IMPORTANT: An index mark (reference mark) should be made on the front and rear propeller shaft pinion flange yokes and the front and rear differential pinion flanges to ensure that the front and rear propeller shafts are installed in the same positions from which they were removed. If this precaution is not observed, a driveline imbalance may result causing vibration, premature component wear or other undesirable conditions.

17. Remove four bolts, four nuts and the front propeller shaft from the vehicle (if equipped).
18. Place an index mark on the rear propeller shaft pinion flange yoke and the differential pinion flange.
19. Remove four bolts, four nuts and the rear propeller shaft from the vehicle.





20. Remove the speedometer cable (3) from the speedometer driven gear case (2).





21. Remove one bolt, the speedometer cable clip (3) and the ground wire (1) from the torque stopper housing.
22. Remove the Three-Way Catalytic Converter (TWC) and the muff muffler/tail pipe assembly from the vehicle. Refer to Catalytic Converter Replacement in Exhaust System.
23. Support the transfer case with a suitable hydraulic jack.





24. Remove two bolts (1) from the torque stopper bracket (3).





25. Remove six bolts and the transfer case crossmember (1) from the undercarriage.





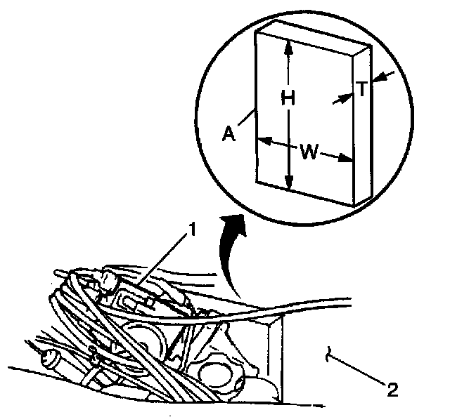
26. Place a wood block with the dimensions of 200 mm (8.0 inch) x (3) 45 mm (1.8 inch) x (4) 100 - 150 mm (4.0 - 6.0 inch) between the distributor gear housing and the bulkhead (2) in order to prevent the distributor and other components from being damaged when the transfer case is lowered.
27. Remove the lower transfer case slowly until the engine contacts its support point on the wood block.
28. Remove one clamp and the breather hose from the gearshift lever case (if equipped).
29. Remove one clamp and the breather hose from the cover (if equipped).
30. Remove the gearshift lever case from the rear case manual transmission equipped vehicles. Refer to Gearshift Control Lever Removal.
31. Remove twelve transfer case-to-transmission bolts.
32. Slide the transfer case off the transmission output shaft and slowly lower the transfer case making sure there are no obstructions.

INSTALLATION PROCEDURE





1. Raise the transfer case into position and slide it onto the transmission output shaft.
2. Install twelve transfer case-to-transmission bolts.
^ Tighten the twelve transfer case-to-transmission bolts to 28 Nm (21 ft. lbs.).

NOTICE: Refer to Fastener Notice in Service Precautions.

3. Install the breather hose to the gearshift lever case. Secure with one clamp (if equipped).
4. Install the breather hose to the cover. Secure with one clamp (if equipped).
5. Install the gearshift lever case to the rear case manual transmission equipped vehicles. Refer to Gearshift Control Lever Installation Gearshift Lever in Manual Transmission.
6. Raise the transfer case slowly until the engine is no longer in contact with the wood block between the bulkhead and the distributor gear housing.
7. Remove the wood block.
8. Install the transfer case crossmember (1) to the undercarriage. Secure the crossmember with six bolts (3).
^ Tighten the transfer case crossmember bolts to 50 Nm (37 ft. lbs.).





9. Install two bolts (1) to the torque stopper bracket (3).
^ Tighten the torque stopper bracket bolts to 50 Nm (37 ft. lbs.).
10. Remove the hydraulic jack from underneath the transfer case.
11. Install the Three Way Catalytic Converter (TWC) and muffler/tail pipe assembly to the vehicle. Refer to Catalytic Converter Replacement in Exhaust System.





12. Install the speedometer cable clip (3) and the ground wire (1) to the torque stopper housing. Secure with one bolt.
^ Tighten the speedometer cable clip bolt (4) to 10 Nm (89 inch lbs.)





13. Install the speedometer cable (3) to the speedometer driven gear case (2).
14. Install the rear propeller shaft into the vehicle aligning the reference marks made during the removal. Secure the rear propeller shaft with four bolts and four nuts.
^ Tighten the rear propeller shaft bolts and nuts to 50 Nm (37 ft. lbs.).

15. Install the front propeller shaft into the vehicle aligning the reference marks made during removal. Secure the front propeller shaft four bolts and four nuts (if equipped).
^ Tighten the front propeller shaft bolts and nuts to 50 Nm (37 ft. lbs.).

16. Apply GM P/N 12346004 or the equivalent, to the threaded portion of the transfer case drain plug.





17. Install the transfer case drain plug (2) into the transfer case.
^ Tighten the transfer case drain plug to 28 Nm (21 ft. lbs.).

18. Add approximately 1.7 liters (1.8 qts.) of 75W-90 GL4 lubricant, or the equivalent, into the transfer case oil level/filler plug hole. The oil level should be even with the bottom of the oil level/filler plug (1).
19. Apply GM P/N 12346004, or the equivalent, to the threaded portion of the transfer case oil level/filler plug (1).
20. Install the transfer case oil level/filer plug (1) into the transfer case.
^ Tighten the transfer case oil level/filler plug (1) to 28 Nm (21 ft. lbs.).

21. Install the transfer case skid plate to the transfer case crossmember. Secure the skid plate with two bolts.
^ Tighten the transfer case skid plate bolts to 54 Nm (40 ft. lbs.).

22. Lower the vehicle.
23. Install four bolts to the fan shroud at the radiator.
^ Tighten the fan shroud bolt to 10 Nm (89 inch lbs.).

24. Connect the four-wheel drive switch electrical connector (2) to the four-wheel drive switch (if equipped) (1).





25. Install the four-wheel drive low switch electrical connector (3) to the four-wheel drive low switch (if equipped) (4).
26. Install the gearshift control lever into the gearshift lever case, pushing down on the shift control lever pivot and turning clockwise 90 degrees (1/4 turn) and releasing (if equipped).
27. Install the gearshift lever case boot to the gearshift lever case. Secure with one clamp (if equipped).





28. Install the gearshift control lever boot (1) and the boot cover onto the gearshift control lever. Secure with eight screws (if equipped).





29. Install the gearshift control lever knob (1) onto the gearshift control lever. Secure the knob with one screw (if equipped).
30. Install the front console box to the floor. Secure the front console box with two plastic retainers and two screws.
31. Install the rear console box to the floor. Secure the rear console box with two plastic retainers and two screws.
32. Connect the negative (-) battery cable.