Operation CHARM: Car repair manuals for everyone.
Manuals through 2025 now available!

Our trusted friends have launched a new website named LEMON, which has newer manuals. It also contains all the CHARM manuals.

LEMON is the spiritual successor to CHARM, I recommend you try it!

Link: lemon-manuals.la or lemon-manuals.org.ua

(Some people have issue connecting. LEMON is investigating. For now, use Firefox or change your DNS server)

Or, hide this message: temporarily or permanently

Front Wheel Toe Adjustment





The toe-in can be increased or decreased by changing the length of the tie rods. A threaded sleeve is provided for this purpose. When the tie rods are mounted ahead of the steering knuckle, the tie rods must be modified as follows:
- Decreased in length in order to increase the toe-in.
- Increased in length in order to decrease the toe-in.

IMPORTANT:
- When checking and setting the toe-in, the left and right side to be set separately and the steering wheel must be held straight ahead position within 4 - 6°.
- Before adjusting the toe-in, jounce the front bumper three times to allow the vehicle to return to the normal height.
- Adjust the toe-in with the vehicle at curb height. The front suspension Z dimension and the rear suspension D dimension are indicated in Trim Heights. Refer to Trim Height Inspection Procedure in Suspension.
- For an accurate toe-in reading, do not push or pull on the tires during the alignment process.

1. Set the steering wheel in the straight ahead position.

IMPORTANT: The tie rod adjuster often becomes rusted in service. If the torque needed to rotate the adjuster tube exceeds 9 Nm (80 inch lbs.), do the following:

1.1. Remove the adjuster tube clamp nuts and the bolts. Discard the nuts and the bolts.
1.2 Apply the penetrating oil between the adjuster tube and the tie rod threads.
1.3 Rotate the adjuster tube until the tube moves freely.
1.4 Install the new bolts and the nuts with the correct part number. The nut must be towards the front of the vehicle.

2. Loosen the clamp bolts at each end of the steering tie rod adjustable sleeves.
3. Rotate the inner and the outer tie rod sockets rearward to the limit of the ball stud travel.
4. Turn the tie rod adjusting sleeves to set the toe-in to specifications. Refer to Wheel Alignment Specifications.





IMPORTANT: Before tightening the adjuster tube nuts, do the following:
- Check the number of threads on each tie rod within the adjuster tube. The tie rod threads within the adjuster tube must be equal to within three threads.
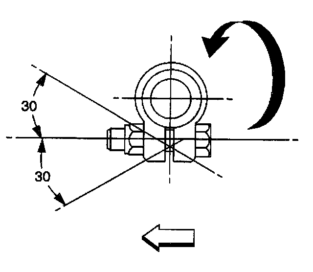
- Check the relationship of the adjuster tube to the clamp. The adjuster tube slot and the clamp opening must not be in the same position. The position of the adjuster tube clamp must not exceed 30° in either direction.
- The adjuster tube clamp must be on the inside of the adjuster tube dimple.

5. Tighten the adjuster tube clamp nuts.
- Tighten the adjuster tube clamp nuts to 25 Nm (18 ft. lbs.). The clamp ends may touch when the nuts are tightened to specification.

6. Rotate the tie rod sockets to the centered position. Ensure that the outer socket is square with the stud.