Operation CHARM: Car repair manuals for everyone.
Manuals through 2025 now available!

Our trusted friends have launched a new website named LEMON, which has newer manuals. It also contains all the CHARM manuals.

LEMON is the spiritual successor to CHARM, I recommend you try it!

Link: lemon-manuals.la or lemon-manuals.org.ua

(Some people have issue connecting. LEMON is investigating. For now, use Firefox or change your DNS server)

Or, hide this message: temporarily or permanently

Oxygen Sensor: Description and Operation

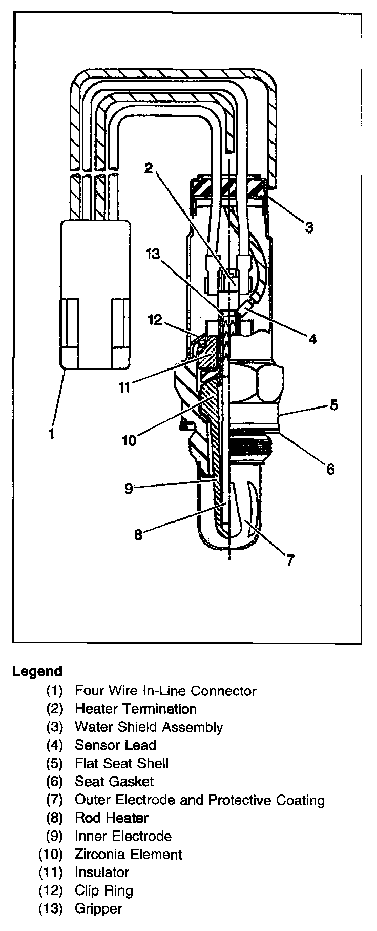
Heated Oxygen Sensor (Cutaway View):




Due to emissions regulations, the vehicle must enter closed loop as soon as possible. By heating the individual oxygen sensors, they reach their activation temperature sooner than those without heaters. Once an oxygen sensor reaches its activation temperature, the sensor is able to monitor the oxygen content of the exhaust more accurately. The vehicle operates in closed loop status once activation temperature is reached. Thus, the VCM's Fuel trim corrections reduce the vehicle's total emissions. Vehicles produce less emissions when they are in closed loop than open loop.

The Heated Oxygen Sensors are mounted in the exhaust system where they can monitor the oxygen content of the exhaust gas stream. The oxygen present in the exhaust gas reacts with the sensor to produce a voltage output. This voltage should constantly fluctuate from approximately 100 mV (high oxygen content - lean mixture) to 900 mV (low oxygen content - rich mixture).

The VCM calculates what fuel mixture command to give to the injectors based upon voltage output of the oxygen sensor, (lean mixture - low HO2S voltage = rich command, rich mixture - high HO2S voltage = lean command). The heated oxygen sensor voltage can be monitored with a scan tool.

Depending upon the configuration of the vehicle's exhaust system, the number of oxygen sensors may vary. The pre-catalyst (HO2S Bank 1 Sensor 1 and Bank 2 Sensor 1) oxygen sensors are positioned between the exhaust manifold and catalytic converter. The post-catalyst (HO2S Bank 1 Sensor 2, Bank 1 Sensor 3, and Bank 2 Sensor 2) oxygen sensors are positioned between the catalytic converter and muffler.

When the VCM detects an HO2S signal circuit that is low, the VCM will set one of the following DTCs:
^ DTC P0131 Bank 1 Sensor 1 HO2S
^ DTC P0137 Bank 1 Sensor 2 HO2S
^ DTC P0143 Bank 1 Sensor 3 HO2S
^ DTC P0151 Bank 2 Sensor 1 HO2S
^ DTC P0157 Bank 2 Sensor 2 HO2S

When the VCM detects an HO2S signal circuit that is high, the VCM will set one of the following DTCs:
^ DTC P0132 Bank 1 Sensor 1 HO2S
^ DTC P0138 Bank 1 Sensor 2 HO2S
^ DTC P0144 Bank 1 Sensor 3 HO2S
^ DTC P0152 Bank 2 Sensor 1 HO2S
^ DTC P0158 Bank 2 Sensor 2 HO2S

The VCM has the ability to monitor HO2S switching, transition time, and incorrect voltage ratio problems. When the VCM detects sluggish HO2S activity, the VCM will set one of the following DTCs:
^ DTC P0133 Bank 1 Sensor 1 HO2S
^ DTC P0153 Bank 1 Sensor 2 HO2S

When the VCM detects no HO2S activity, the VCM will set one of the following DTCs:
^ DTC P0134 Bank 1 Sensor 1 HO2S
^ DTC P0140 Bank 1 Sensor 2 HO2S
^ DTC P0146 Bank 1 Sensor 3 HO2S
^ DTC P0154 Bank 2 Sensor 1 HO2S
^ DTC P0160 Bank 2 Sensor 2 HO2S

A fault in the heated oxygen sensor heater element, ignition voltage, or ground will result in an increase in time to Closed Loop fuel control. This may cause increased emissions, especially during start-up. When the VCM detects a malfunction in the HO2S heater circuits, one of the following DTCs will set:
^ DTC P0135 Bank 1 Sensor 1 HO2S heater
^ DTC P0141 Bank 1 Sensor 2 HO2S heater
^ DTC P0147 Bank 1 Sensor 3 HO2S heater
^ DTC P0155 Bank 2 Sensor 1 HO2S heater
^ DTC P0161 Bank 2 Sensor 2 HO2S heater