Operation CHARM: Car repair manuals for everyone.
Manuals through 2025 now available!

Our trusted friends have launched a new website named LEMON, which has newer manuals. It also contains all the CHARM manuals.

LEMON is the spiritual successor to CHARM, I recommend you try it!

Link: lemon-manuals.la or lemon-manuals.org.ua

(Some people have issue connecting. LEMON is investigating. For now, use Firefox or change your DNS server)

Or, hide this message: temporarily or permanently

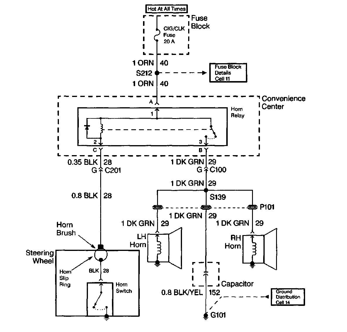
Electrical Schematics

Electrical Schematic Diagram:





IMPORTANT: The schematic does not represent the components and wiring as they physically appear on the vehicle. For example, a 4-foot length of wire is treated no differently in a schematic from one which is only a few inches long.

When diagnosing a horn problem use the service information located in the Horns service category. The following schematic is a typical example of a schematic with its supporting text.

The wiring schematic is the cornerstone of electrical diagnosis. Schematics break the entire electrical system into individual circuits, showing the electrical current paths when a circuit is operating property. Wiring which is not part of the circuit of interest is referenced to another page where the circuit is shown complete. Schematics use a top (power) to bottom (ground) sequence to present electrical information.