Operation CHARM: Car repair manuals for everyone.
Manuals through 2025 now available!

Our trusted friends have launched a new website named LEMON, which has newer manuals. It also contains all the CHARM manuals.

LEMON is the spiritual successor to CHARM, I recommend you try it!

Link: lemon-manuals.la or lemon-manuals.org.ua

(Some people have issue connecting. LEMON is investigating. For now, use Firefox or change your DNS server)

Or, hide this message: temporarily or permanently

Clutch Switch: Service and Repair

Removal Procedure

Caution: Refer to Battery Disconnect Caution in Service Precautions.

1. Disconnect the negative battery cable.
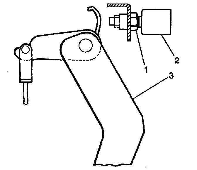
2. Remove the electrical connector from the Clutch Pedal Position (CPP) switch.





3. Remove the CPP switch (2) from the clutch and the brake pedal bracket by turning the CPP switch counterclockwise.
4. Remove the CPP switch lock nut (1) from the CPP switch.
5. Inspect the CPP switch for excessive wear or damage. Replace the switch as necessary.

Installation Procedure

^ Tools Required
- J 39200 Digital Multimeter





Notice: Refer to Fastener Notice in Service Precautions.

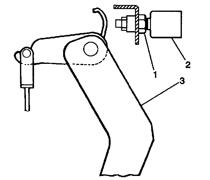
1. Install the Clutch Pedal Position (CPP) switch lock nut to the CPP switch.
Tighten the CPP switch lock nut (1) to 13 Nm (115 inch lbs.).
2. Use J 39200 in order to make adjustments to the CPP switch.
3. Install the CPP switch (2) into the clutch and the brake pedal bracket by turning the CPP switch clockwise.





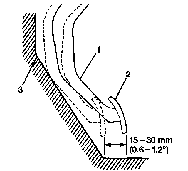
4. Depress the clutch pedal (2) to the floor (3). Return the clutch pedal 15 - 30 mm (0.6 - 1.2 inch) from the floor.





5. Adjust the probes of J 39200 in contact with both leads of the CPP switch electrical connector (2).
6. Adjust the CPP switch by threading the switch into the clutch and into the brake pedal bracket until continuity is achieved.
7. Install the CPP switch lock nut.
Tighten the CPP switch lock nut to 13 Nm (115 inch lbs.).
8. Connect the electrical connector to the CPP switch.
9. Connect the negative battery cable.