Operation CHARM: Car repair manuals for everyone.
Manuals through 2025 now available!

Our trusted friends have launched a new website named LEMON, which has newer manuals. It also contains all the CHARM manuals.

LEMON is the spiritual successor to CHARM, I recommend you try it!

Link: lemon-manuals.la or lemon-manuals.org.ua

(Some people have issue connecting. LEMON is investigating. For now, use Firefox or change your DNS server)

Or, hide this message: temporarily or permanently

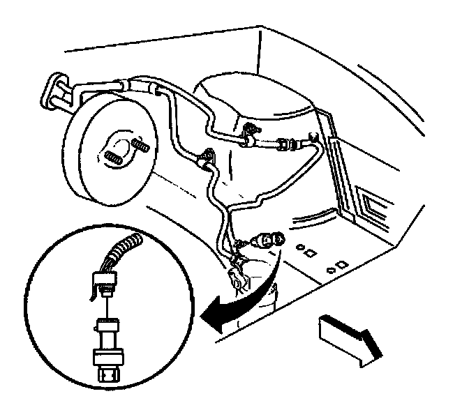
Refrigerant Pressure Sensor / Switch: Service and Repair




REMOVAL PROCEDURE
1. Remove the air cleaner cover and duct assembly.
2. Disconnect the electrical connector from the A/C pressure sensor.
3. Remove the A/C pressure sensor from the liquid line.

INSTALLATION PROCEDURE
1. Using a lint-free clean, dry cloth, carefully clean the sealing surfaces of the liquid line fitting.
2. Lightly coat the new O-ring seal with mineral base 525 viscosity refrigerant oil.

IMPORTANT: DO NOT allow any of the mineral base 525 viscosity refrigerant oil on the new O-ring seal to enter the refrigerant system.

3. Install the new O-ring seal.

NOTE: Refer to Fastener Notice in Service Precautions.

4. Install the A/C pressure sensor to the liquid line.

Tighten
Tighten the switch to 5 N.m (44 lb in).

5. Connect the electrical connector to the A/C pressure sensor.
6. Install the air cleaner and duct assembly.