Operation CHARM: Car repair manuals for everyone.
Manuals through 2025 now available!

Our trusted friends have launched a new website named LEMON, which has newer manuals. It also contains all the CHARM manuals.

LEMON is the spiritual successor to CHARM, I recommend you try it!

Link: lemon-manuals.la or lemon-manuals.org.ua

(Some people have issue connecting. LEMON is investigating. For now, use Firefox or change your DNS server)

Or, hide this message: temporarily or permanently

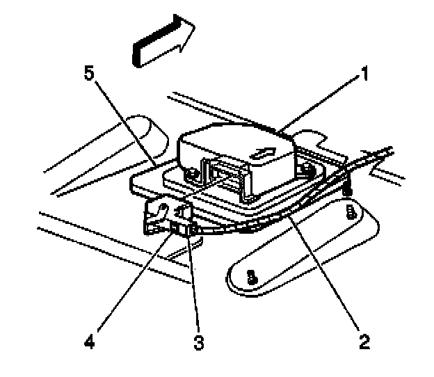
Installation Procedure









1. Install the SDM (2) to the vehicle. Refer to Fastener Notice in Cautions and Notices.
2. Install the SDM mounting fasteners (1).

Tighten
Tighten fasteners to 10 N.m (89 lb in).

3. Install the SDM wiring harness connector (3) to the SDM (1).
4. Install the Connector Position Assurance (CPA) to the SDM wiring harness connector.
5. Position the carpet to cover the SDM then install the carpet retainer.
6. Install the passenger front seat.
7. Enable the SIR system.